雷达财经讯,天眼查App显示,近日,合宝文娱集团有限公司新增1条被执行人信息,执行标的9801元,执行法院为广州市海珠区人民法院。今年5月,该公司被恢复执行48万余元。
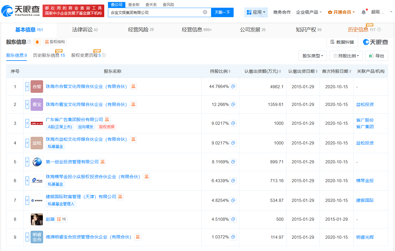
该公司成立于2015年1月,法定代表人为赵智,注册资本约1.1亿人民币,经营范围包括广播电视节目制作经营、电影发行、演出经纪等,由珠海市合智文化传媒合伙企业(有限合伙)、珠海市看宝文化传媒合伙企业(有限合伙)、赵薇等共同持股,其中赵薇持股约4.5%。风险信息显示,此前,赵薇所持有的该公司500万股权已被冻结。
雷达财经讯,天眼查App显示,近日,合宝文娱集团有限公司新增1条被执行人信息,执行标的9801元,执行法院为广州市海珠区人民法院。今年5月,该公司被恢复执行48万余元。
该公司成立于2015年1月,法定代表人为赵智,注册资本约1.1亿人民币,经营范围包括广播电视节目制作经营、电影发行、演出经纪等,由珠海市合智文化传媒合伙企业(有限合伙)、珠海市看宝文化传媒合伙企业(有限合伙)、赵薇等共同持股,其中赵薇持股约4.5%。风险信息显示,此前,赵薇所持有的该公司500万股权已被冻结。
沟通、交流、进读者群、寻求授权,请加雷达学妹(微信:leidaxuemei),线索、爆料,请发送至邮箱:leidacj@163.com。更多精彩:欢迎扫码关注雷达财经微信:
作者:艳蕊财经 阅读:12426
作者:艳蕊财经 阅读:11983
作者:艳蕊财经 阅读:10874
国际实业上半年营收增6倍利润却大降九成,经营现金流连续多年为负
作者:艳蕊财经 阅读:10966
作者:艳蕊财经 阅读:11808
古井贡酒遭海通证券下调评级,当前公司市盈率远高于证券公司预测
作者:艳蕊财经 阅读:9796
奥美医疗子公司员工中毒,公司曾因逃避监管的方式排放水污染物遭行政处罚
作者:艳蕊财经 阅读:9966
作者:mengshuai 阅读:7754
作者:凯旌财经 阅读:7417