投稿
当前位置: 首页 > 雷达财经

白云山已注册多枚王老吉商标

2025/10/11 12:15:01 0人评论 108 次

据报道,10月10日,加多宝集团突然发布声明,声称拥有王老吉海外商标所有权。而此前9月30日,广州王老吉大健康产业有限公司(下称“王老吉大健康公司”)则指责加多宝属于恶意抢注,双方围绕海外商标归属展开新一轮攻防战。据悉,万捷有限公司为加多宝…

雷达财经讯,据报道,10月10日,加多宝集团突然发布声明,声称拥有王老吉海外商标所有权。而此前9月30日,广州王老吉大健康产业有限公司(下称“王老吉大健康公司”)则指责加多宝属于恶意抢注,双方围绕海外商标归属展开新一轮攻防战。据悉,万捷有限公司为加多宝集团海外离岸关联公司。

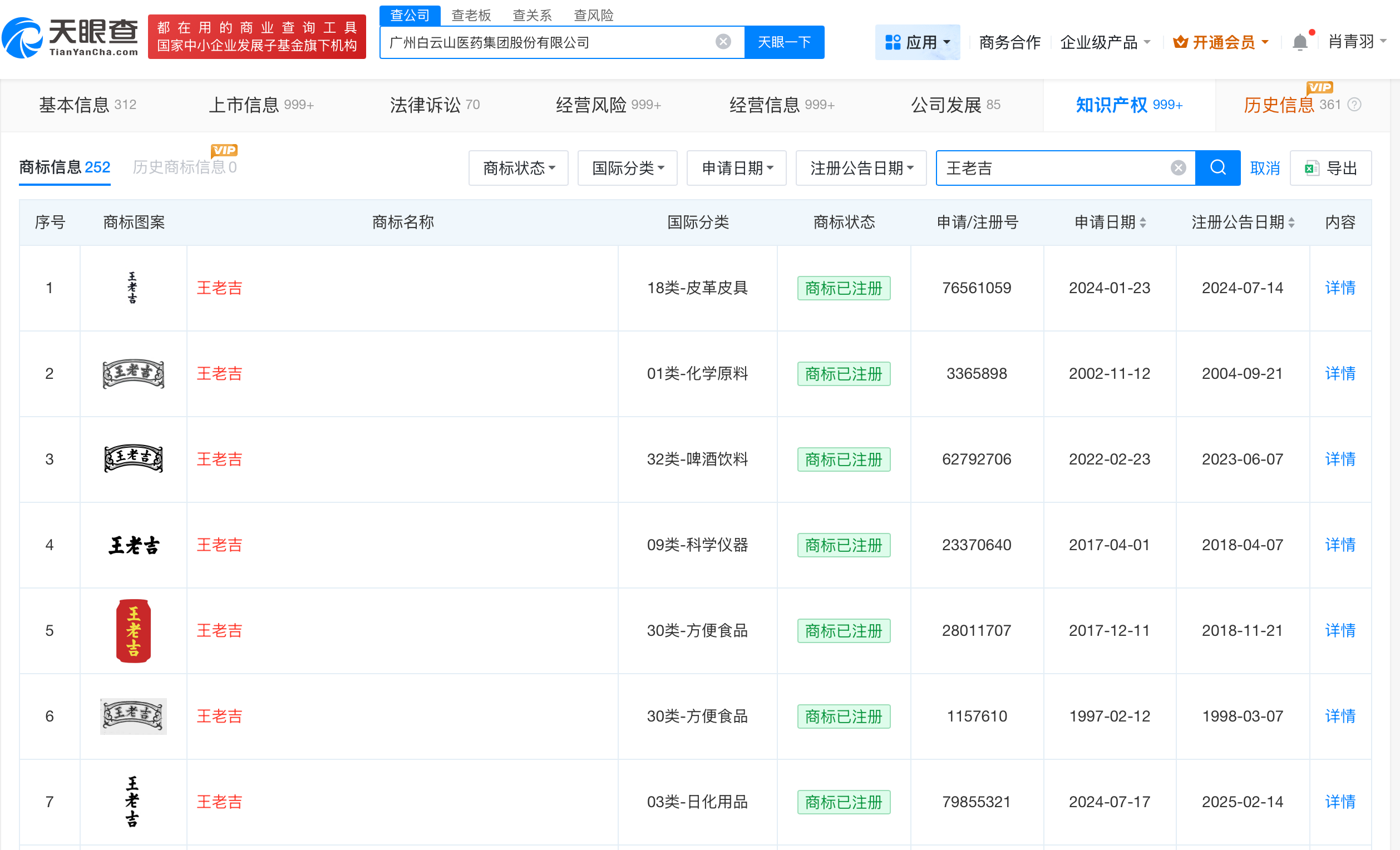
天眼查App显示,“王老吉”已被多方申请注册为商标,国际分类包括医药、饲料种籽、方便食品等,申请人包括万捷有限公司、新郑市某饲料厂等。当前上述商标多已被驳回。此外,广州白云山医药集团股份有限公司已申请注册多枚“王老吉”商标,当前商标状态多为已注册。

已有0人点赞
财经评论(0)
查看评论
 

沟通、交流、进读者群、寻求授权,请加雷达学妹(微信:leidaxuemei),线索、爆料,请发送至邮箱:leidacj@163.com。更多精彩:欢迎扫码关注雷达财经微信: