投稿
当前位置: 首页 > 雷达财经

上海世茂建设公司等被执行9.2亿

2025/10/23 10:30:04 0人评论 84 次

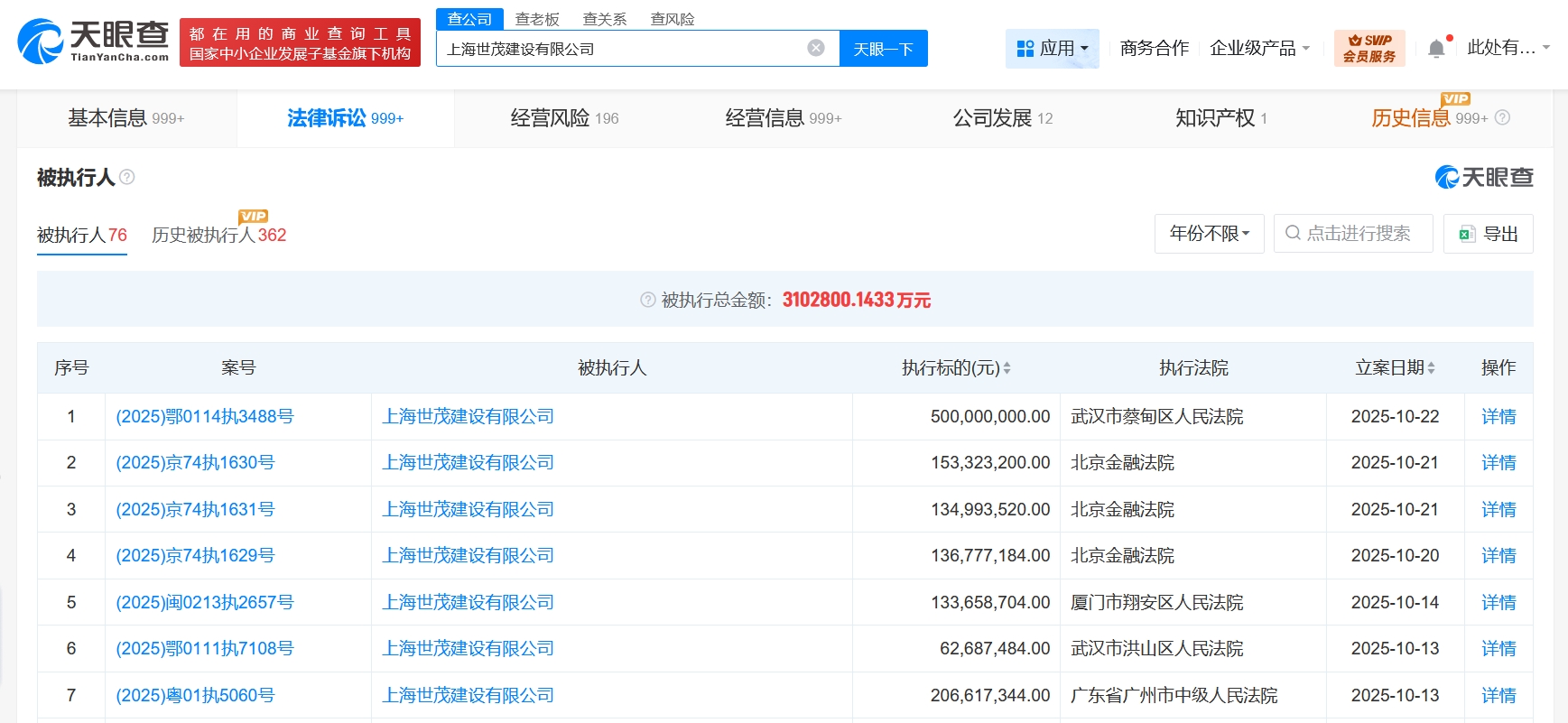
天眼查App显示,10月20日至22日,上海世茂建设有限公司新增4条被执行人信息,执行标的合计9.2亿余元,部分案件被执行人还包括长沙世茂房地产有限公司、牡丹江世茂新城房地产开发有限公司等,执行法院为武汉市蔡甸区人民法院、北京金融法院…

雷达财经讯,天眼查App显示,10月20日至22日,上海世茂建设有限公司新增4条被执行人信息,执行标的合计9.2亿余元,部分案件被执行人还包括长沙世茂房地产有限公司、牡丹江世茂新城房地产开发有限公司等,执行法院为武汉市蔡甸区人民法院、北京金融法院。

上海世茂建设有限公司成立于2001年3月,法定代表人为颜华,注册资本31.4亿人民币,经营范围为房地产开发、经营、旧房改造及经营、物业管理、室内装潢、企业管理咨询,由世茂投资控股有限公司全资持股。天眼风险信息显示,该公司现存70余条被执行人信息,被执行总金额超310亿元,此外,该公司还存在多条限制消费令、失信被执行人(老赖)及终本案件信息。

已有0人点赞
财经评论(0)
查看评论
 

沟通、交流、进读者群、寻求授权,请加雷达学妹(微信:leidaxuemei),线索、爆料,请发送至邮箱:leidacj@163.com。更多精彩:欢迎扫码关注雷达财经微信: