
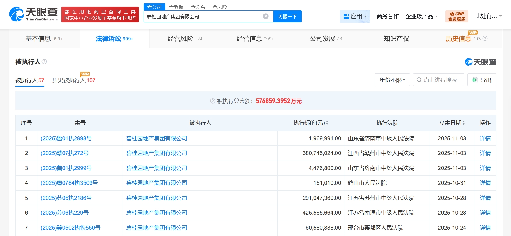
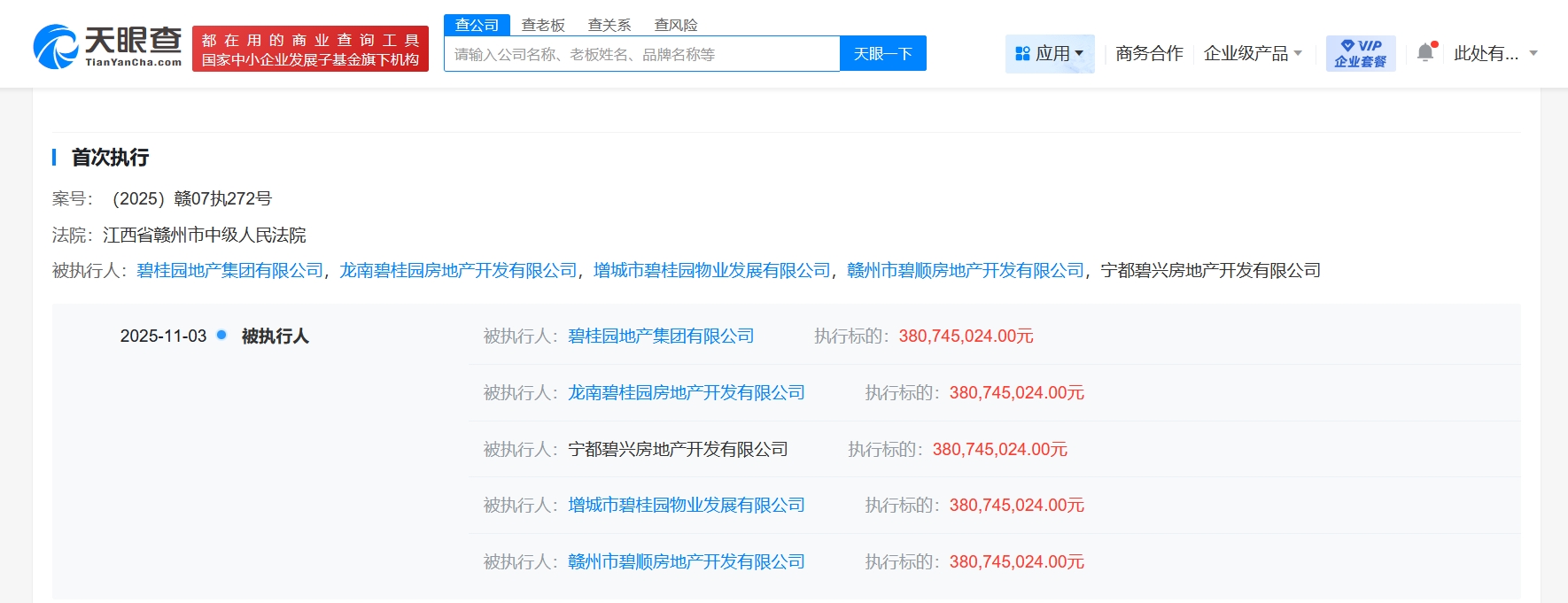
雷达财经讯,天眼查App显示,近日,碧桂园地产集团有限公司新增3条被执行人信息,执行标的合计3.8亿余元,被执行人还包括龙南碧桂园房地产开发有限公司、增城市碧桂园物业发展有限公司等,执行法院为江西省赣州市中级人民法院、山东省济南市中级人民法院。
天眼风险信息显示,碧桂园地产集团有限公司现存57条被执行人信息,被执行总金额超57亿元,此外,该公司还存在多条限制消费令、失信被执行人(老赖)及终本案件信息。



雷达财经讯,天眼查App显示,近日,碧桂园地产集团有限公司新增3条被执行人信息,执行标的合计3.8亿余元,被执行人还包括龙南碧桂园房地产开发有限公司、增城市碧桂园物业发展有限公司等,执行法院为江西省赣州市中级人民法院、山东省济南市中级人民法院。
天眼风险信息显示,碧桂园地产集团有限公司现存57条被执行人信息,被执行总金额超57亿元,此外,该公司还存在多条限制消费令、失信被执行人(老赖)及终本案件信息。



沟通、交流、进读者群、寻求授权,请加雷达学妹(微信:leidaxuemei),线索、爆料,请发送至邮箱:leidacj@163.com。更多精彩:欢迎扫码关注雷达财经微信:

作者:艳蕊财经 阅读:12753
作者:艳蕊财经 阅读:12275
作者:艳蕊财经 阅读:11194
国际实业上半年营收增6倍利润却大降九成,经营现金流连续多年为负
作者:艳蕊财经 阅读:11262
作者:艳蕊财经 阅读:12128
古井贡酒遭海通证券下调评级,当前公司市盈率远高于证券公司预测
作者:艳蕊财经 阅读:10078
奥美医疗子公司员工中毒,公司曾因逃避监管的方式排放水污染物遭行政处罚
作者:艳蕊财经 阅读:10236
作者:mengshuai 阅读:8048
作者:凯旌财经 阅读:7729