投稿
当前位置: 首页 > 雷达财经

恒大地产集团等被执行9.1亿

2025/11/11 10:45:13 0人评论 101 次

天眼查App显示,近日,恒大地产集团有限公司、威海中恒置业有限公司新增一则被执行人信息,执行标的9.1亿余元,执行法院为山东省淄博市中级人民法院…

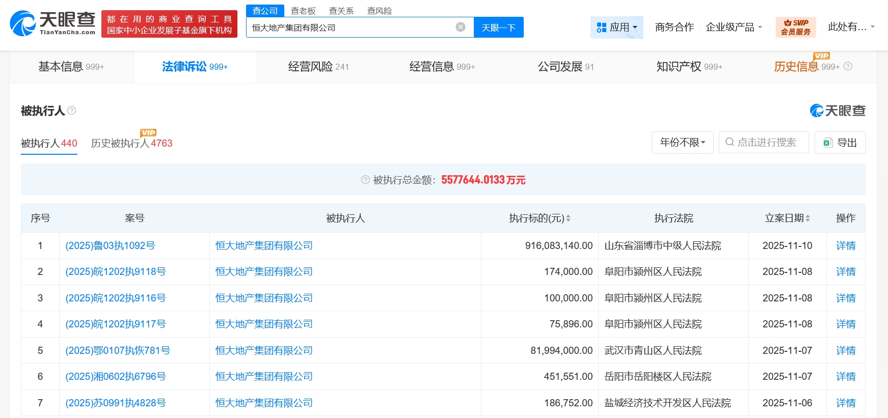
雷达财经讯,天眼查App显示,近日,恒大地产集团有限公司、威海中恒置业有限公司新增一则被执行人信息,执行标的9.1亿余元,执行法院为山东省淄博市中级人民法院。

恒大地产集团有限公司成立于1996年6月,法定代表人为赵长龙,注册资本约39.4亿人民币。股东信息显示,该公司由广州市凯隆置业有限公司、深圳市安居集团有限公司、广州市城投投资有限公司等共同持股。天眼风险信息显示,该公司现存400余条被执行人信息,被执行总金额超557亿元。此外,该公司还存在多条限制消费令、失信被执行人(老赖)及终本案件信息。

已有0人点赞
财经评论(0)
查看评论
 

沟通、交流、进读者群、寻求授权,请加雷达学妹(微信:leidaxuemei),线索、爆料,请发送至邮箱:leidacj@163.com。更多精彩:欢迎扫码关注雷达财经微信: