
雷达财经讯,据媒体报道,近日,有网友反映在使用宝宝巴士旗下“宝宝巴士儿歌”App时,开屏广告跳转到了一些低俗擦边直播等不适合儿童观看的第三方广告,引起广泛关注。10月29日上午,宝宝巴士相关负责人回应称,这些问题广告是由第三方平台接入的,严重影响了用户体验,对此公司表示诚挚歉意。宝宝巴士高度重视此事,迅速开展自查自纠工作。
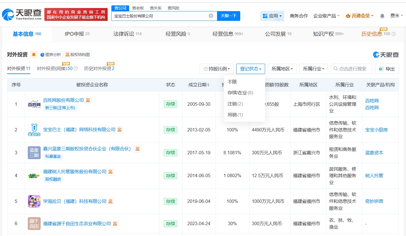
天眼查App显示,宝宝巴士股份有限公司成立于2009年6月,法定代表人为唐光宇,注册资本3.6亿人民币,经营范围包括软件开发、动漫游戏开发、专业设计服务等,由平潭忠永投资合伙企业(普通合伙)、福州市仓山区明强投资合伙企业(有限合伙)、苏州睿古极因投资中心(有限合伙)等共同持股。对外投资信息显示,该公司对外投资11家企业,其中8家处于存续状态,包括百姓网股份有限公司、宝宝巴士(福建)网络科技有限公司、嘉兴蓝象三期股权投资合伙企业(有限合伙)等。法律诉讼信息显示,该公司曾多次因著作权权属、侵权纠纷,侵害作品信息网络传播权纠纷等被起诉。











