
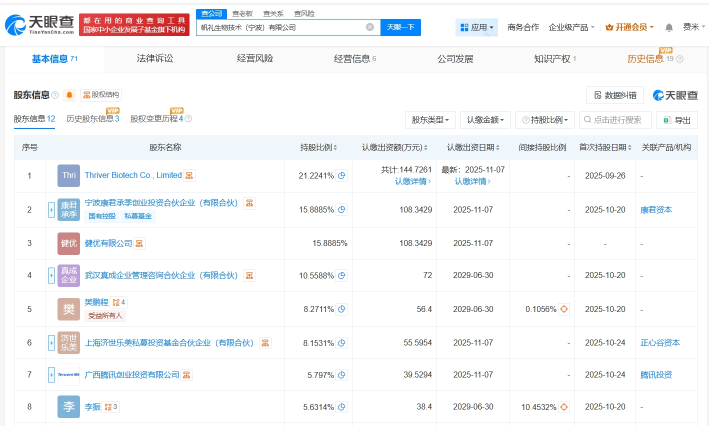
雷达财经讯,天眼查App显示,近日,帆礼生物技术(宁波)有限公司发生工商变更,新增广西腾讯创业投资有限公司、上海济世乐美私募投资基金合伙企业(有限合伙)为股东,注册资本由约474万人民币增至约682万人民币,同时,部分高管也发生变更。
该公司成立于2023年10月,法定代表人为樊鹏程,经营范围为医学研究和试验发展,现由Thriver Biotech Co., Limited、宁波康君承季创业投资合伙企业(有限合伙)及上述新增股东等共同持股。





雷达财经讯,天眼查App显示,近日,帆礼生物技术(宁波)有限公司发生工商变更,新增广西腾讯创业投资有限公司、上海济世乐美私募投资基金合伙企业(有限合伙)为股东,注册资本由约474万人民币增至约682万人民币,同时,部分高管也发生变更。
该公司成立于2023年10月,法定代表人为樊鹏程,经营范围为医学研究和试验发展,现由Thriver Biotech Co., Limited、宁波康君承季创业投资合伙企业(有限合伙)及上述新增股东等共同持股。





沟通、交流、进读者群、寻求授权,请加雷达学妹(微信:leidaxuemei),线索、爆料,请发送至邮箱:leidacj@163.com。更多精彩:欢迎扫码关注雷达财经微信:

作者:雷达快讯 阅读:15
作者:雷达快讯 阅读:29
作者:雷达快讯 阅读:30
作者:雷达快讯 阅读:29
作者:雷达快讯 阅读:33
作者:雷达快讯 阅读:30
锦盛新材:2025年第三季度归母净利润同比减少316.77%
作者:雷达快讯 阅读:37
作者:雷达快讯 阅读:31
作者:雷达快讯 阅读:33