投稿
当前位置: 首页 >雷达原创

恒大地产等被执行4.4亿

2025/10/24 10:00:10 0人评论 150 次

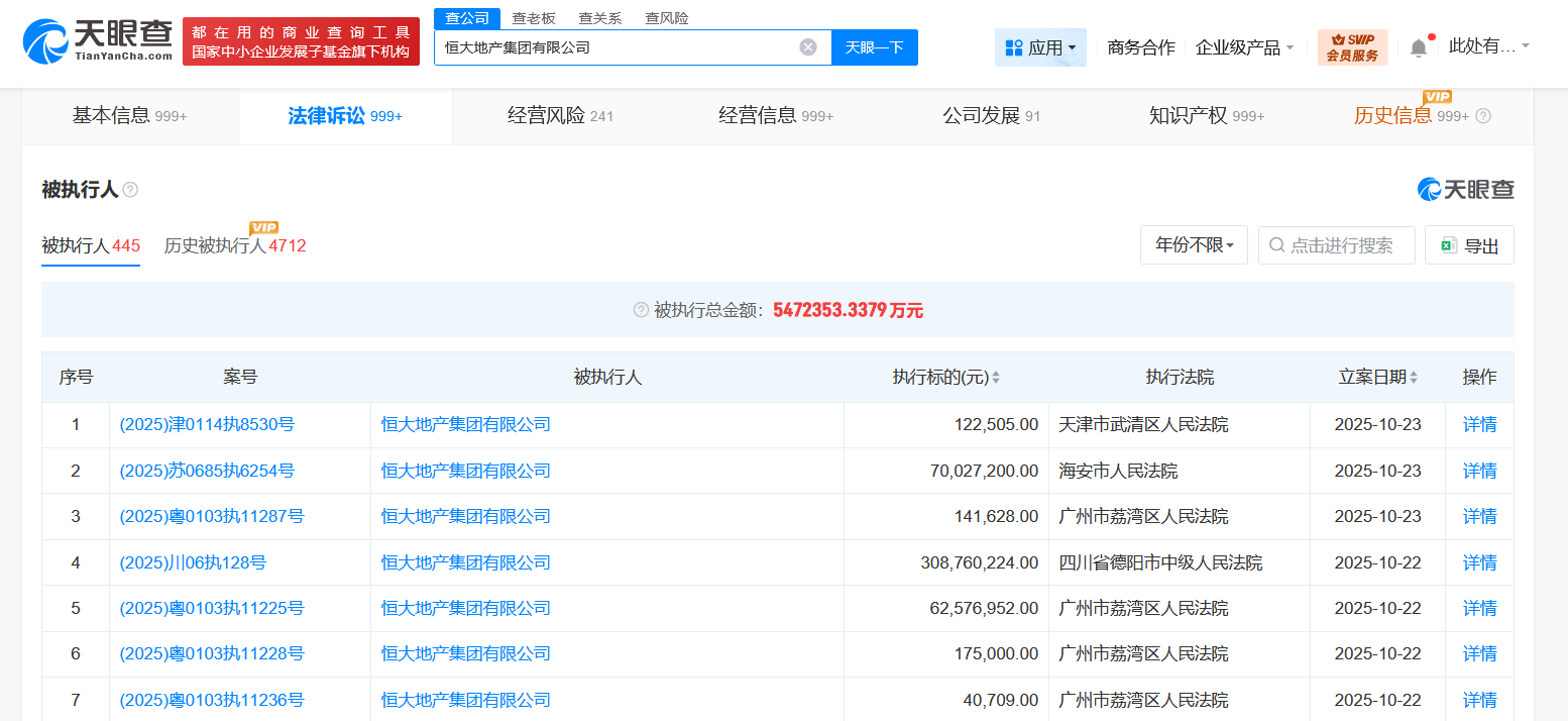
天眼查App显示,10月22日至23日,恒大地产集团有限公司新增7条被执行人信息,执行标的合计4.4亿余元,涉及买卖合同纠纷、建设工程施工合同纠纷等案件,部分案件被执行人还包括恒大集团有限公司、南通苏创置业有限公司等,执行法院为四川省德阳市…

雷达财经讯,天眼查App显示,10月22日至23日,恒大地产集团有限公司新增7条被执行人信息,执行标的合计4.4亿余元,涉及买卖合同纠纷、建设工程施工合同纠纷等案件,部分案件被执行人还包括恒大集团有限公司、南通苏创置业有限公司等,执行法院为四川省德阳市中级人民法院、广州市荔湾区人民法院等。

天眼风险信息显示,恒大地产集团有限公司现存440余条被执行人信息,被执行总金额超547亿元,此外,该公司还存在多条限制消费令、失信被执行人(老赖)及终本案件信息。

已有0人点赞
财经评论(0)
查看评论
 

沟通、交流、进读者群、寻求授权,请加雷达学妹(微信:leidaxuemei),线索、爆料,请发送至邮箱:leidacj@163.com。更多精彩:欢迎扫码关注雷达财经微信: