宗馥莉名下多家娃哈哈关联公司已注销

雷达快讯

· 雷眼万象

73阅读

雷达财经讯,据媒体报道,10月10日晚,自一位娃哈哈内部人士获悉,宗馥莉已于9月12日向娃哈哈集团有限公司辞去公司法人代表、董事及董事长等相关职务并已通过集团股东会和董事会的相关程序。娃哈哈集团表示,宗馥莉辞职属实。值得注意的是,宗馥莉在2024年7月也曾提出辞职,辞去娃哈哈集团副董事长、总经理职务。

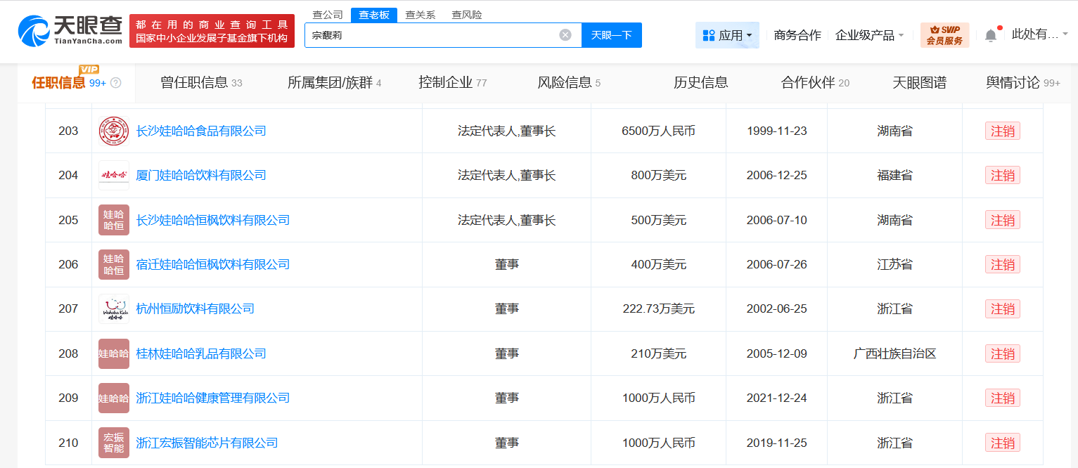
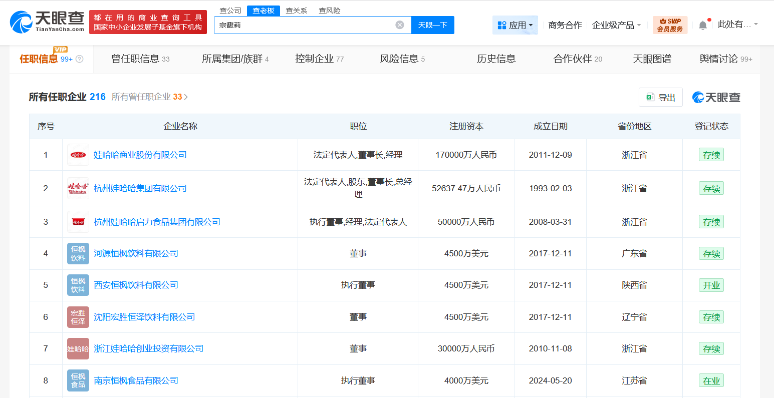
天眼查任职信息显示,宗馥莉名下关联210余家企业,其中200余家为存续或开业状态,包括娃哈哈商业股份有限公司、杭州娃哈哈集团有限公司等。值得注意的是,宗馥莉名下10余家企业已注销。其中,浙江娃哈哈健康管理有限公司、浙江宏振智能芯片有限公司、浙江德清娃哈哈科技创新中心有限公司于近期注销。此外,南京娃哈哈宏振饮用水有限公司、江山娃哈哈宏振饮用水有限公司也于近期发布简易注销公告。

相关资讯
网友评论精选
返回

宗馥莉名下多家娃哈哈关联公司已注销

73阅读
雷眼万象 2025/10/11 9:30:00
作者:
据媒体报道,10月10日晚,自一位娃哈哈内部人士获悉,宗馥莉已于9月12日向娃哈哈集团有限公司辞去公司法人代表、董事及董事长等相关职务并已通过集团股东会和董事会的相关程序。娃哈哈集团表示,宗馥莉辞职属实。值得注意的是,宗馥莉在2024年7月…
雷达财经

雷达财经—遨游广袤的财富世界

长按识别二维码看详情
栏目类别
财经评论(0)
查看评论