当前位置: 首页 >雷眼万象

严学峰在娃哈哈旗下多家公司担任监事

2025/10/14 15:30:23 0人评论 80 次

10月14日,澎湃新闻记者获悉,宏胜饮料集团有限公司内部系统中,严学峰、祝丽丹岗位显示“待定”。有消息称,上述两人已申请离职。澎湃新闻记者拨打严学峰、祝丽丹两人电话,电话均未接听…

雷达财经讯,10月14日,澎湃新闻记者获悉,宏胜饮料集团有限公司内部系统中,严学峰、祝丽丹岗位显示“待定”。有消息称,上述两人已申请离职。澎湃新闻记者拨打严学峰、祝丽丹两人电话,电话均未接听。

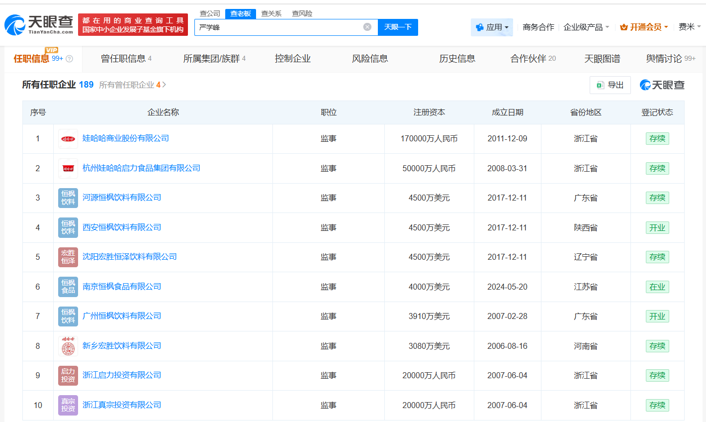
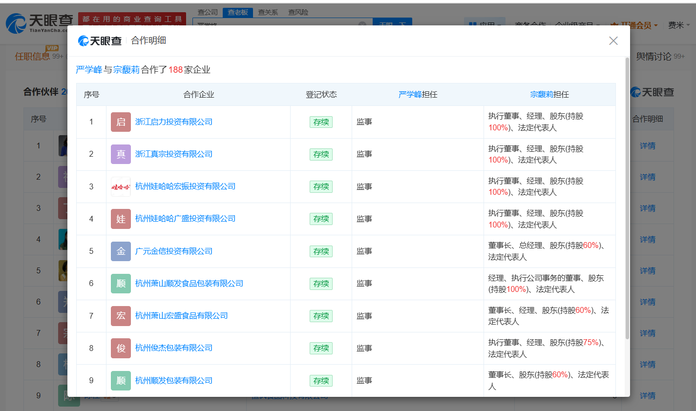
天眼查App显示,严学峰名下关联近190家企业,其中180余家处于存续状态,包括娃哈哈商业股份有限公司、河源恒枫饮料有限公司、浙江迅尔城通货运有限公司等。值得一提的是,严学峰名下关联近百家娃哈哈企业,包括杭州娃哈哈启力食品集团有限公司、杭州娃哈哈乐维食品有限公司等,严学峰在上述公司担任监事。合作伙伴信息显示,严学峰与宗馥莉共同关联188家企业,包括浙江启力投资有限公司、浙江真宗投资有限公司等。

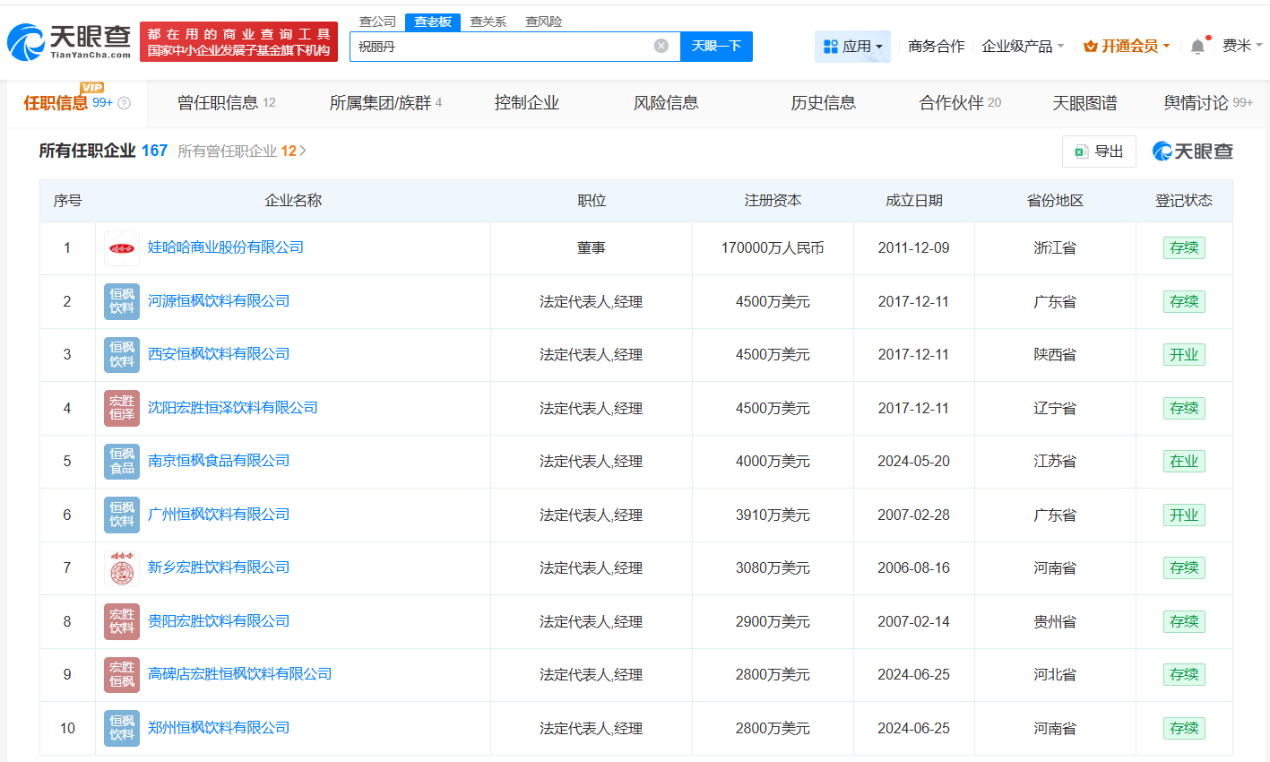
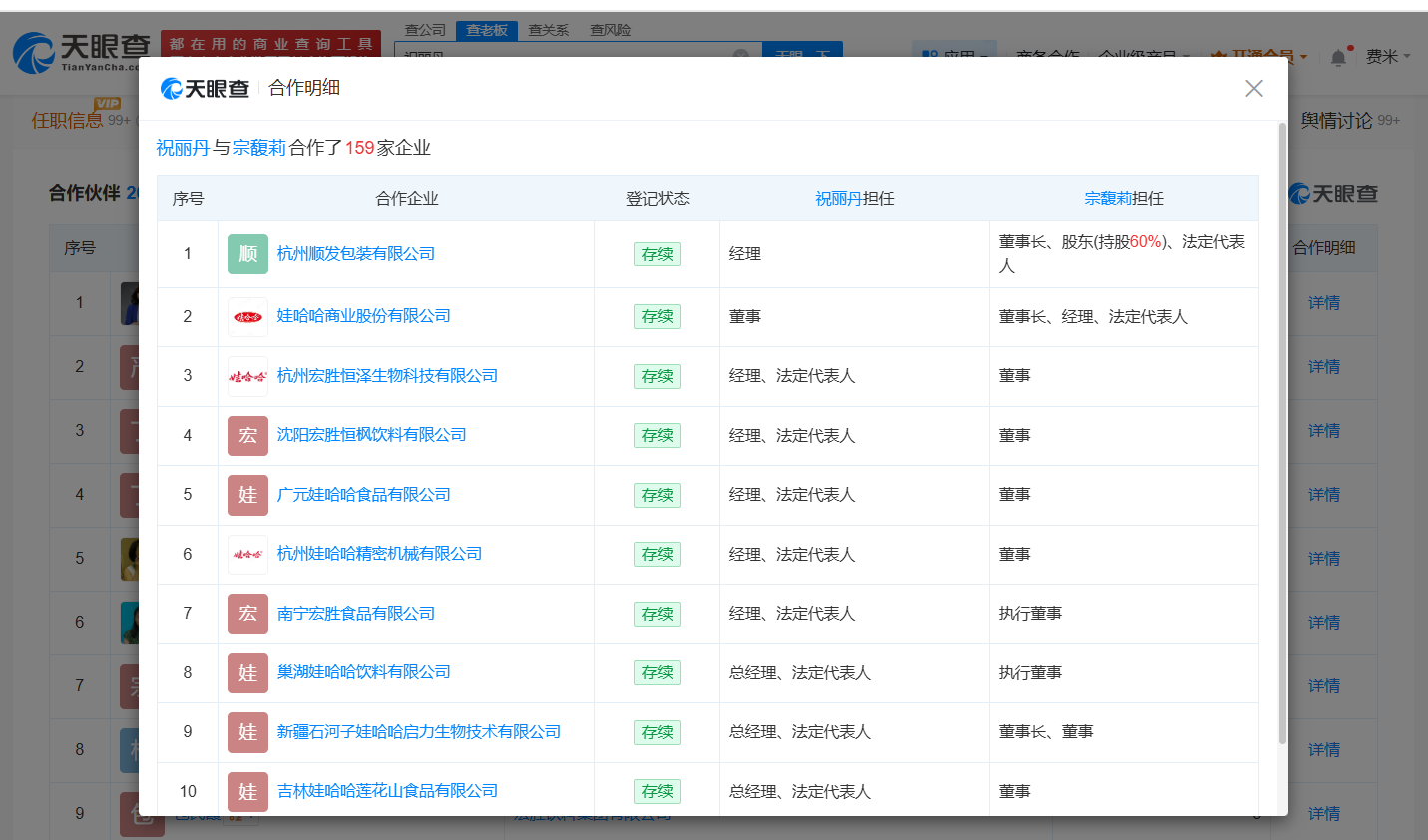
祝丽丹名下关联160余家存续企业,包括娃哈哈商业股份有限公司、河源恒枫饮料有限公司、西安恒枫饮料有限公司等,值得一提的是,祝丽丹名下关联近百家娃哈哈企业,包括杭州娃哈哈乐维食品有限公司、杭州娃哈哈非常可乐饮料有限公司等,祝丽丹在上述公司担任法定代表人、经理。合作伙伴信息显示,祝丽丹与宗馥莉共同关联150余家企业,包括杭州顺发包装有限公司、南宁宏胜食品有限公司等。

已有0人点赞
财经评论(0)
查看评论
 

沟通、交流、进读者群、寻求授权,请加雷达学妹(微信:leidaxuemei),线索、爆料,请发送至邮箱:leidacj@163.com。更多精彩:欢迎扫码关注雷达财经微信: