雷达财经讯,据报道, 近日,演员李昀锐与孟子义被曝连续多日收工后一同返回同一住宅单元,疑似恋情曝光。随后,孟子义工作室、李昀锐工作室分别发布辟谣博文。
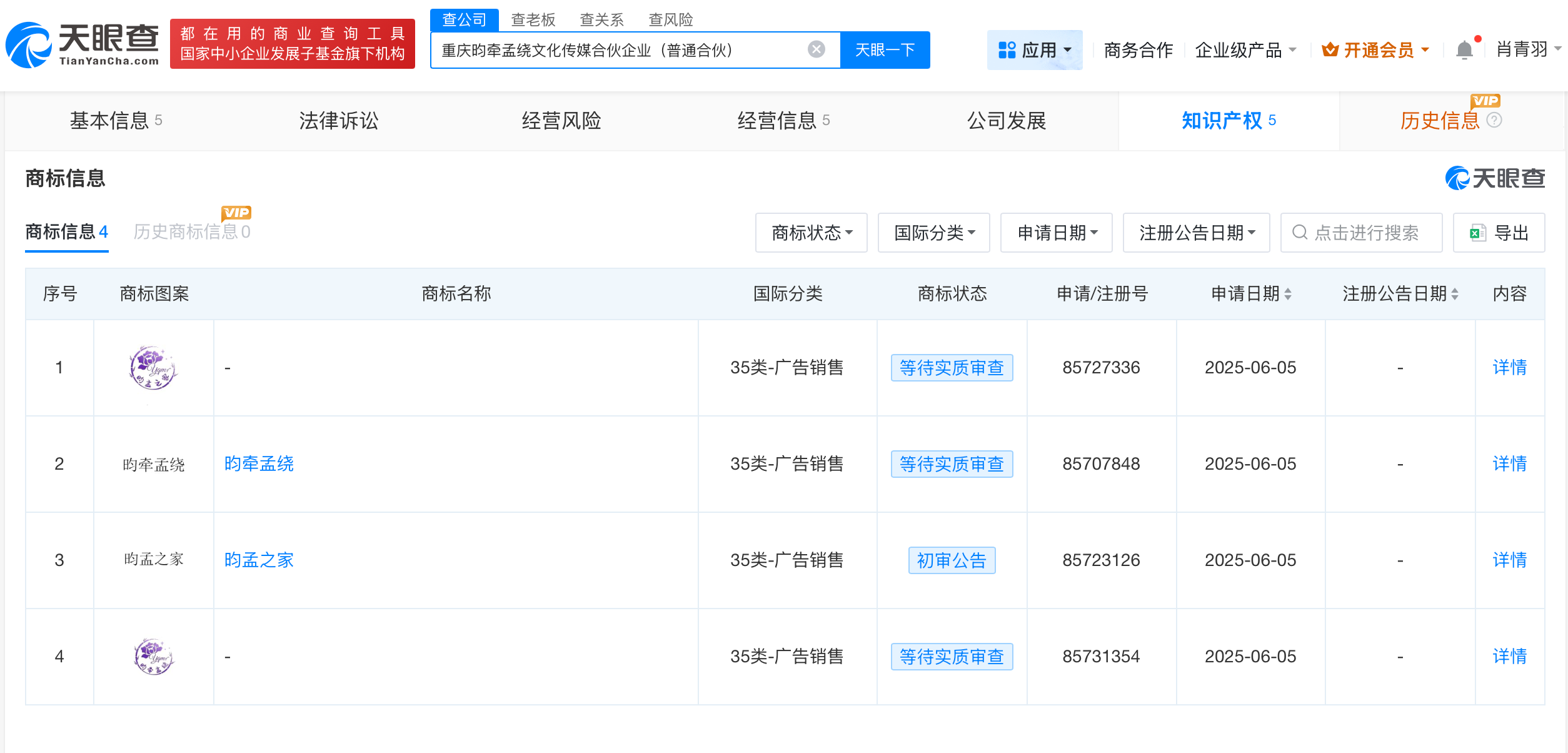
天眼查App显示,今年5月,重庆昀牵孟绕文化传媒合伙企业(普通合伙)注册成立。知识产权信息显示,该合伙企业已申请多枚“昀牵孟绕”“昀孟之家”文字和图形商标,其中“昀孟之家”已初审公告,其余商标状态为等待实质审查。
雷达财经讯,据报道, 近日,演员李昀锐与孟子义被曝连续多日收工后一同返回同一住宅单元,疑似恋情曝光。随后,孟子义工作室、李昀锐工作室分别发布辟谣博文。
天眼查App显示,今年5月,重庆昀牵孟绕文化传媒合伙企业(普通合伙)注册成立。知识产权信息显示,该合伙企业已申请多枚“昀牵孟绕”“昀孟之家”文字和图形商标,其中“昀孟之家”已初审公告,其余商标状态为等待实质审查。
沟通、交流、进读者群、寻求授权,请加雷达学妹(微信:leidaxuemei),线索、爆料,请发送至邮箱:leidacj@163.com。更多精彩:欢迎扫码关注雷达财经微信:
作者:艳蕊财经 阅读:12348
作者:艳蕊财经 阅读:11921
作者:艳蕊财经 阅读:10815
国际实业上半年营收增6倍利润却大降九成,经营现金流连续多年为负
作者:艳蕊财经 阅读:10908
作者:艳蕊财经 阅读:11753
古井贡酒遭海通证券下调评级,当前公司市盈率远高于证券公司预测
作者:艳蕊财经 阅读:9745
奥美医疗子公司员工中毒,公司曾因逃避监管的方式排放水污染物遭行政处罚
作者:艳蕊财经 阅读:9910
作者:mengshuai 阅读:7694
作者:凯旌财经 阅读:7353