
雷达财经讯,据媒体报道,1月7日,数据显示,鹅鸭杀手游还未开服,便登顶iOS免费榜。鹅鸭杀官方显示1月7日早上9点开服。
天眼查工商信息显示,鹅鸭杀手游开发商成都金山世游卓立科技有限公司成立于2020年12月,法定代表人为郑可,注册资本100万人民币,经营范围包括软件开发、组织文化艺术交流活动、计算机软硬件及辅助设备零售等。股东信息显示,该公司由武汉金山世游聚方科技集团有限公司全资持股。
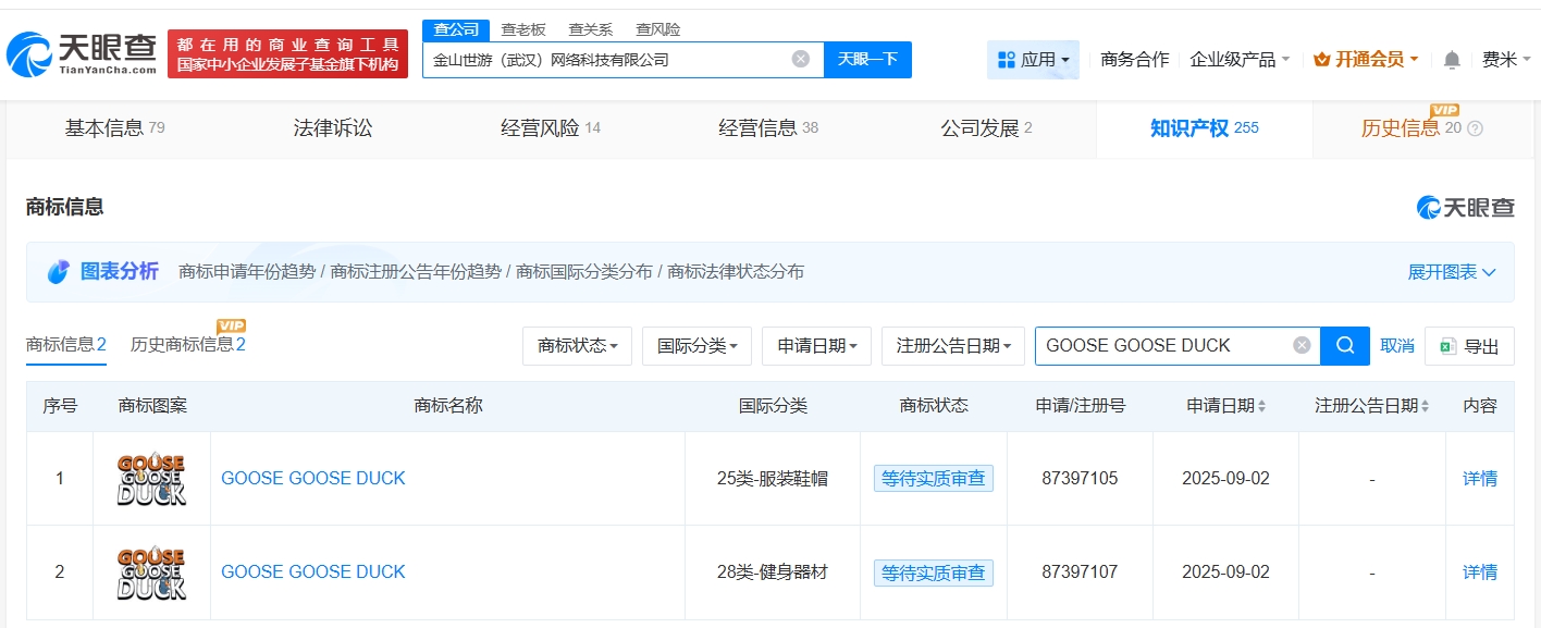
值得一提的是,知识产权信息显示,鹅鸭杀出品方GAGGLE STUDIOS,INC.(即鹅群工作室股份有限公司)曾申请注册多枚“GOOSE GOOSE DUCK”商标,国际分类包含教育娱乐、网站服务、科学仪器等,当前部分商标已成功注册。此外,金山世游关联公司金山世游(武汉)网络科技有限公司于去年9月申请注册“GOOSE GOOSE DUCK”商标,国际分类为服装鞋帽、健身器材,当前商标状态为等待实质审查。公开资料显示,金山世游作为鹅鸭杀中国大陆地区独家代理发行商,全面负责游戏的本土化运营及移动端开发。




















