
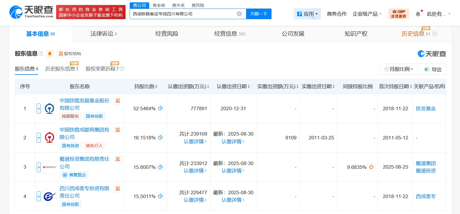
雷达财经讯,天眼查工商信息显示,近日,西成铁路客运专线四川有限公司发生工商变更,注册资本由约106.3亿人民币增至约148亿人民币,增幅约39%,同时,多位高管发生变更。
该公司成立于2011年5月,法定代表人为王在广,经营范围含公共铁路运输、建设工程施工、房地产开发经营、国内货物运输代理等。股东信息显示,该公司由中国铁路发展基金股份有限公司、中国铁路成都局集团有限公司、蜀道投资集团有限责任公司、四川西成客专投资有限责任公司共同持股。




雷达财经讯,天眼查工商信息显示,近日,西成铁路客运专线四川有限公司发生工商变更,注册资本由约106.3亿人民币增至约148亿人民币,增幅约39%,同时,多位高管发生变更。
该公司成立于2011年5月,法定代表人为王在广,经营范围含公共铁路运输、建设工程施工、房地产开发经营、国内货物运输代理等。股东信息显示,该公司由中国铁路发展基金股份有限公司、中国铁路成都局集团有限公司、蜀道投资集团有限责任公司、四川西成客专投资有限责任公司共同持股。




沟通、交流、进读者群、寻求授权,请加雷达学妹(微信:leidaxuemei),线索、爆料,请发送至邮箱:leidacj@163.com。更多精彩:欢迎扫码关注雷达财经微信:

作者:艳蕊财经 阅读:12939
作者:艳蕊财经 阅读:12497
作者:艳蕊财经 阅读:11379
国际实业上半年营收增6倍利润却大降九成,经营现金流连续多年为负
作者:艳蕊财经 阅读:11429
作者:艳蕊财经 阅读:12304
古井贡酒遭海通证券下调评级,当前公司市盈率远高于证券公司预测
作者:艳蕊财经 阅读:10231
奥美医疗子公司员工中毒,公司曾因逃避监管的方式排放水污染物遭行政处罚
作者:艳蕊财经 阅读:10379
作者:mengshuai 阅读:8205
作者:凯旌财经 阅读:7936