
雷达财经讯,据报道,近日,网易游戏《燕云十六声》新外观“飞白成诗”被多位玩家指出存在擦边问题,玩家指出,该服装设计存在大量裸露元素,存在擦边情况引起关注。
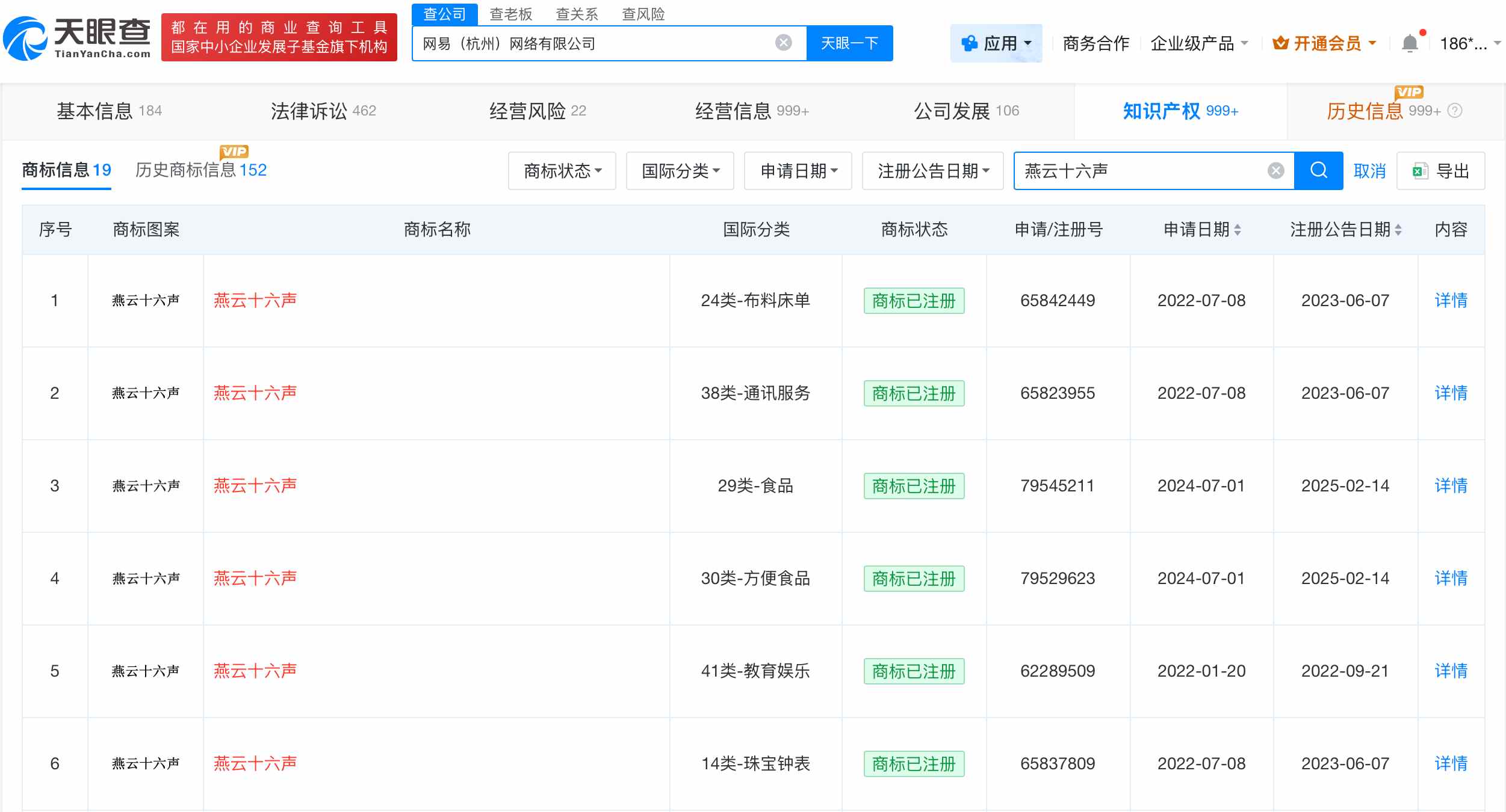
天眼查App显示,网易(杭州)网络有限公司已申请注册“燕云十六声”商标,国际分类涉及教育娱乐、方便食品等,当前商标均已成功注册。


雷达财经讯,据报道,近日,网易游戏《燕云十六声》新外观“飞白成诗”被多位玩家指出存在擦边问题,玩家指出,该服装设计存在大量裸露元素,存在擦边情况引起关注。
天眼查App显示,网易(杭州)网络有限公司已申请注册“燕云十六声”商标,国际分类涉及教育娱乐、方便食品等,当前商标均已成功注册。


沟通、交流、进读者群、寻求授权,请加雷达学妹(微信:leidaxuemei),线索、爆料,请发送至邮箱:leidacj@163.com。更多精彩:欢迎扫码关注雷达财经微信:

作者:雷达快讯 阅读:93
中国太平洋人寿德宏中心支公司及多名责任人被罚款合计29.5万元
作者:雷达快讯 阅读:90
中国人寿保险德宏分公司及相关分支机构、责任人被罚款合计28.5万元
作者:雷达快讯 阅读:91
作者:雷达快讯 阅读:85
作者:雷达快讯 阅读:85
作者:雷达快讯 阅读:83
作者:雷达快讯 阅读:79
作者:雷达快讯 阅读:98
作者:雷达快讯 阅读:118