
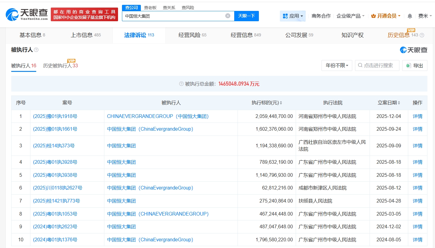
雷达财经讯,天眼查法律诉讼信息显示,近日,中国恒大集团、恒大新能源汽车投资控股集团有限公司等新增一则被执行人信息,执行标的20.5亿余元,执行法院为河南省郑州市中级人民法院。
风险信息显示,中国恒大集团现存10余条被执行人信息,被执行总金额超146亿元,此外还存在多条终本案件信息。



雷达财经讯,天眼查法律诉讼信息显示,近日,中国恒大集团、恒大新能源汽车投资控股集团有限公司等新增一则被执行人信息,执行标的20.5亿余元,执行法院为河南省郑州市中级人民法院。
风险信息显示,中国恒大集团现存10余条被执行人信息,被执行总金额超146亿元,此外还存在多条终本案件信息。



沟通、交流、进读者群、寻求授权,请加雷达学妹(微信:leidaxuemei),线索、爆料,请发送至邮箱:leidacj@163.com。更多精彩:欢迎扫码关注雷达财经微信:

作者:艳蕊财经 阅读:13731
作者:艳蕊财经 阅读:14104
作者:艳蕊财经 阅读:12138
国际实业上半年营收增6倍利润却大降九成,经营现金流连续多年为负
作者:艳蕊财经 阅读:12250
作者:艳蕊财经 阅读:12989
古井贡酒遭海通证券下调评级,当前公司市盈率远高于证券公司预测
作者:艳蕊财经 阅读:10901
奥美医疗子公司员工中毒,公司曾因逃避监管的方式排放水污染物遭行政处罚
作者:艳蕊财经 阅读:11069
作者:mengshuai 阅读:8846
作者:凯旌财经 阅读:8722