
雷达财经讯,据悉,近日,时政公众号“卢克文工作室”突遭封禁,引发网友讨论。
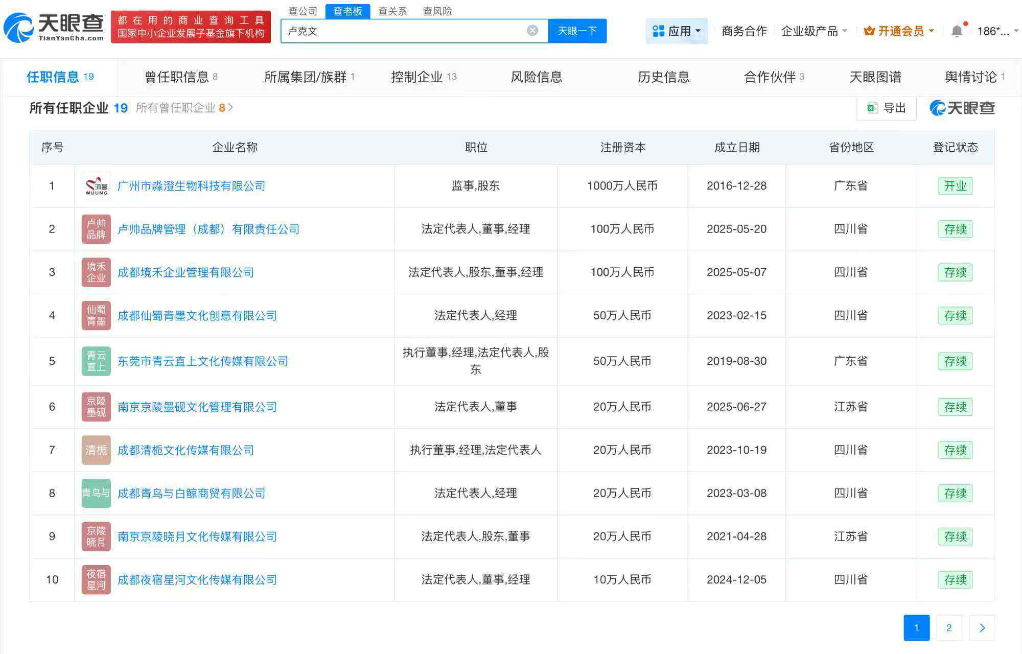
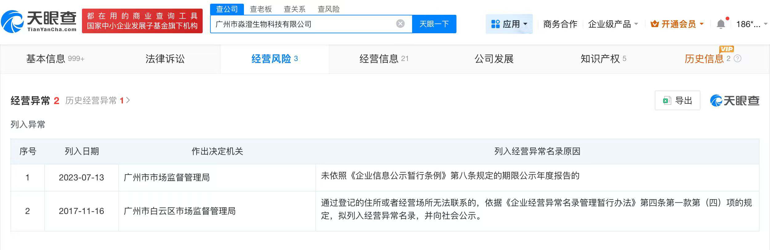
天眼查App显示,卢克文名下关联19家企业,其中13家为存续或开业状态,包括广州市淼澄生物科技有限公司、卢帅品牌管理(成都)有限责任公司、成都境禾企业管理有限公司等,卢克文在上述公司中担任董事、经理等职务。值得注意的是,卢克文关联的广州市淼澄生物科技有限公司因通过登记的住所或者经营场所无法联系等原因,被2次列入经营异常名录。



雷达财经讯,据悉,近日,时政公众号“卢克文工作室”突遭封禁,引发网友讨论。
天眼查App显示,卢克文名下关联19家企业,其中13家为存续或开业状态,包括广州市淼澄生物科技有限公司、卢帅品牌管理(成都)有限责任公司、成都境禾企业管理有限公司等,卢克文在上述公司中担任董事、经理等职务。值得注意的是,卢克文关联的广州市淼澄生物科技有限公司因通过登记的住所或者经营场所无法联系等原因,被2次列入经营异常名录。



沟通、交流、进读者群、寻求授权,请加雷达学妹(微信:leidaxuemei),线索、爆料,请发送至邮箱:leidacj@163.com。更多精彩:欢迎扫码关注雷达财经微信:

作者:艳蕊财经 阅读:13634
作者:艳蕊财经 阅读:14073
作者:艳蕊财经 阅读:12041
国际实业上半年营收增6倍利润却大降九成,经营现金流连续多年为负
作者:艳蕊财经 阅读:12189
作者:艳蕊财经 阅读:12932
古井贡酒遭海通证券下调评级,当前公司市盈率远高于证券公司预测
作者:艳蕊财经 阅读:10839
奥美医疗子公司员工中毒,公司曾因逃避监管的方式排放水污染物遭行政处罚
作者:艳蕊财经 阅读:10977
作者:mengshuai 阅读:8814
作者:凯旌财经 阅读:8630