
雷达财经讯,据报道,亳州圆通物流园由亳州市梦翔置业有限公司投资建设,梦翔置业董事长曹玉根是圆通速递有限公司加盟商。2025年5月,亳州市谯城区人民法院开庭审理该案,检方指控曹玉根冒充圆通速递母公司骗取政府信任,利用物流项目骗取政府扶持资金、税费、专项建设基金共计9500余万元。
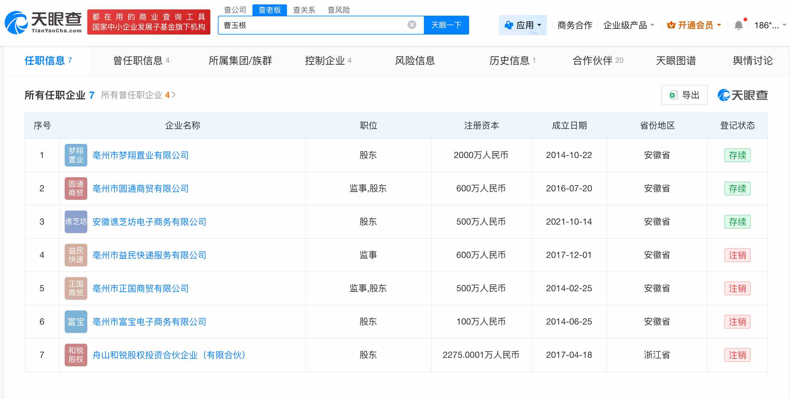
天眼查任职信息显示,曹玉根名下关联7家企业,其中4家已注销,仅亳州市梦翔置业有限公司、亳州市圆通商贸有限公司等为存续状态。


雷达财经讯,据报道,亳州圆通物流园由亳州市梦翔置业有限公司投资建设,梦翔置业董事长曹玉根是圆通速递有限公司加盟商。2025年5月,亳州市谯城区人民法院开庭审理该案,检方指控曹玉根冒充圆通速递母公司骗取政府信任,利用物流项目骗取政府扶持资金、税费、专项建设基金共计9500余万元。
天眼查任职信息显示,曹玉根名下关联7家企业,其中4家已注销,仅亳州市梦翔置业有限公司、亳州市圆通商贸有限公司等为存续状态。


沟通、交流、进读者群、寻求授权,请加雷达学妹(微信:leidaxuemei),线索、爆料,请发送至邮箱:leidacj@163.com。更多精彩:欢迎扫码关注雷达财经微信:

作者:艳蕊财经 阅读:13788
作者:艳蕊财经 阅读:14147
作者:艳蕊财经 阅读:12188
国际实业上半年营收增6倍利润却大降九成,经营现金流连续多年为负
作者:艳蕊财经 阅读:12297
作者:艳蕊财经 阅读:13032
古井贡酒遭海通证券下调评级,当前公司市盈率远高于证券公司预测
作者:艳蕊财经 阅读:10957
奥美医疗子公司员工中毒,公司曾因逃避监管的方式排放水污染物遭行政处罚
作者:艳蕊财经 阅读:11116
作者:mengshuai 阅读:8888
作者:凯旌财经 阅读:8772