
雷达财经讯,天眼查天眼风险信息显示,近日,吴秀波新增一则被执行人信息,执行标的6200万余元,执行法院为北京市第三中级人民法院。
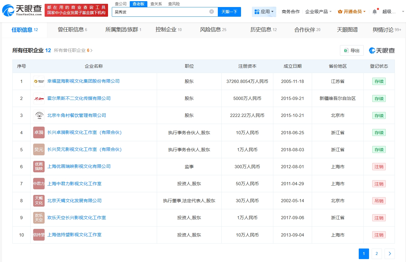
任职信息显示,目前,吴秀波名下关联12家企业,仅5家为存续状态,其余处于注销或被吊销状态。



雷达财经讯,天眼查天眼风险信息显示,近日,吴秀波新增一则被执行人信息,执行标的6200万余元,执行法院为北京市第三中级人民法院。
任职信息显示,目前,吴秀波名下关联12家企业,仅5家为存续状态,其余处于注销或被吊销状态。



沟通、交流、进读者群、寻求授权,请加雷达学妹(微信:leidaxuemei),线索、爆料,请发送至邮箱:leidacj@163.com。更多精彩:欢迎扫码关注雷达财经微信:

作者:雷达快讯 阅读:116
作者:雷达快讯 阅读:110
作者:雷达快讯 阅读:119
作者:雷达快讯 阅读:118
作者:雷达快讯 阅读:118
作者:雷达快讯 阅读:117
作者:雷达快讯 阅读:119
作者:雷达快讯 阅读:117
作者:雷达快讯 阅读:146