
雷达财经讯,天眼查App显示,近日,大连万达集团股份有限公司、万达地产集团有限公司等新增一则恢复执行信息,执行标的12亿余元,执行法院为上海市第二中级人民法院。
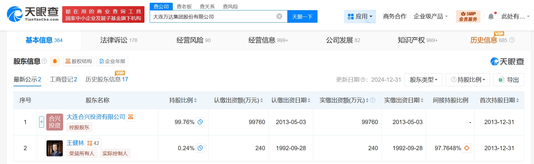
大连万达集团股份有限公司成立于1992年9月,法定代表人为王健林,注册资本10亿人民币,由大连合兴投资有限公司、王健林共同持股。天眼风险信息显示,该公司现存12条被执行人信息,被执行总金额81亿余元,此外,该公司还存在多条股权冻结信息。




雷达财经讯,天眼查App显示,近日,大连万达集团股份有限公司、万达地产集团有限公司等新增一则恢复执行信息,执行标的12亿余元,执行法院为上海市第二中级人民法院。
大连万达集团股份有限公司成立于1992年9月,法定代表人为王健林,注册资本10亿人民币,由大连合兴投资有限公司、王健林共同持股。天眼风险信息显示,该公司现存12条被执行人信息,被执行总金额81亿余元,此外,该公司还存在多条股权冻结信息。




沟通、交流、进读者群、寻求授权,请加雷达学妹(微信:leidaxuemei),线索、爆料,请发送至邮箱:leidacj@163.com。更多精彩:欢迎扫码关注雷达财经微信:

作者:艳蕊财经 阅读:14014
作者:艳蕊财经 阅读:14395
作者:艳蕊财经 阅读:12435
国际实业上半年营收增6倍利润却大降九成,经营现金流连续多年为负
作者:艳蕊财经 阅读:12521
作者:艳蕊财经 阅读:13264
古井贡酒遭海通证券下调评级,当前公司市盈率远高于证券公司预测
作者:艳蕊财经 阅读:11198
奥美医疗子公司员工中毒,公司曾因逃避监管的方式排放水污染物遭行政处罚
作者:艳蕊财经 阅读:11325
作者:mengshuai 阅读:9114
作者:凯旌财经 阅读:9009