
雷达财经讯,天眼查天眼风险信息显示,近日,内蒙古蒙牛乳业(集团)股份有限公司新增一则被执行人信息,执行标的500万人民币,执行法院为江苏省南京市中级人民法院。
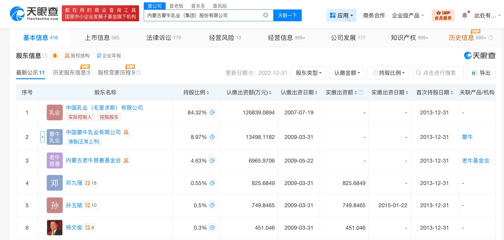
工商信息显示,内蒙古蒙牛乳业(集团)股份有限公司成立于1999年8月,法定代表人为高飞,注册资本约15亿人民币,经营范围含乳制品生产、食品生产、食品添加剂生产、动物饲养、饮料生产、食品销售等。股东信息显示,该公司由中国乳业(毛里求斯)有限公司、中国蒙牛乳业有限公司、内蒙古老牛慈善基金会等共同持股。




雷达财经讯,天眼查天眼风险信息显示,近日,内蒙古蒙牛乳业(集团)股份有限公司新增一则被执行人信息,执行标的500万人民币,执行法院为江苏省南京市中级人民法院。
工商信息显示,内蒙古蒙牛乳业(集团)股份有限公司成立于1999年8月,法定代表人为高飞,注册资本约15亿人民币,经营范围含乳制品生产、食品生产、食品添加剂生产、动物饲养、饮料生产、食品销售等。股东信息显示,该公司由中国乳业(毛里求斯)有限公司、中国蒙牛乳业有限公司、内蒙古老牛慈善基金会等共同持股。




沟通、交流、进读者群、寻求授权,请加雷达学妹(微信:leidaxuemei),线索、爆料,请发送至邮箱:leidacj@163.com。更多精彩:欢迎扫码关注雷达财经微信:

作者:艳蕊财经 阅读:15176
作者:艳蕊财经 阅读:15564
作者:艳蕊财经 阅读:13722
国际实业上半年营收增6倍利润却大降九成,经营现金流连续多年为负
作者:艳蕊财经 阅读:13630
作者:艳蕊财经 阅读:14379
古井贡酒遭海通证券下调评级,当前公司市盈率远高于证券公司预测
作者:艳蕊财经 阅读:12384
奥美医疗子公司员工中毒,公司曾因逃避监管的方式排放水污染物遭行政处罚
作者:艳蕊财经 阅读:12460
作者:mengshuai 阅读:10283
作者:凯旌财经 阅读:10245