
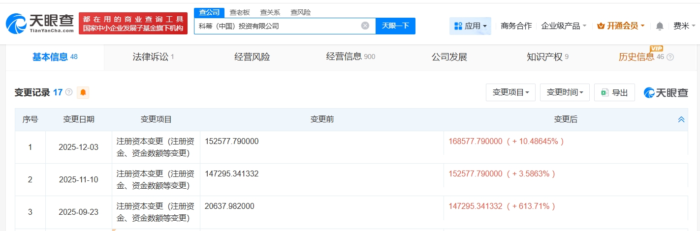
雷达财经讯,天眼查App显示,近日,科蒂(中国)投资有限公司发生工商变更,注册资本由约15.3亿人民币增至约16.9亿人民币,增幅约10.5%。值得一提的是,今年9月和11月,该公司曾两次增资。
该公司成立于2013年1月,法定代表人为MATHIEU,AUGUSTIN,PIERRE,MARIE DE JUSSIEU DUFRESNE,经营范围包括从事化妆品、美容用品、卫生用品、生化及日化用品的批发、佣金代理、进出口业务和其他相关配套业务等,由科蒂香港有限公司全资持股。




雷达财经讯,天眼查App显示,近日,科蒂(中国)投资有限公司发生工商变更,注册资本由约15.3亿人民币增至约16.9亿人民币,增幅约10.5%。值得一提的是,今年9月和11月,该公司曾两次增资。
该公司成立于2013年1月,法定代表人为MATHIEU,AUGUSTIN,PIERRE,MARIE DE JUSSIEU DUFRESNE,经营范围包括从事化妆品、美容用品、卫生用品、生化及日化用品的批发、佣金代理、进出口业务和其他相关配套业务等,由科蒂香港有限公司全资持股。



沟通、交流、进读者群、寻求授权,请加雷达学妹(微信:leidaxuemei),线索、爆料,请发送至邮箱:leidacj@163.com。更多精彩:欢迎扫码关注雷达财经微信:


作者:艳蕊财经 阅读:13723
作者:艳蕊财经 阅读:14098
作者:艳蕊财经 阅读:12131
国际实业上半年营收增6倍利润却大降九成,经营现金流连续多年为负
作者:艳蕊财经 阅读:12246
作者:艳蕊财经 阅读:12982
古井贡酒遭海通证券下调评级,当前公司市盈率远高于证券公司预测
作者:艳蕊财经 阅读:10895
奥美医疗子公司员工中毒,公司曾因逃避监管的方式排放水污染物遭行政处罚
作者:艳蕊财经 阅读:11066
作者:mengshuai 阅读:8843
作者:凯旌财经 阅读:8715