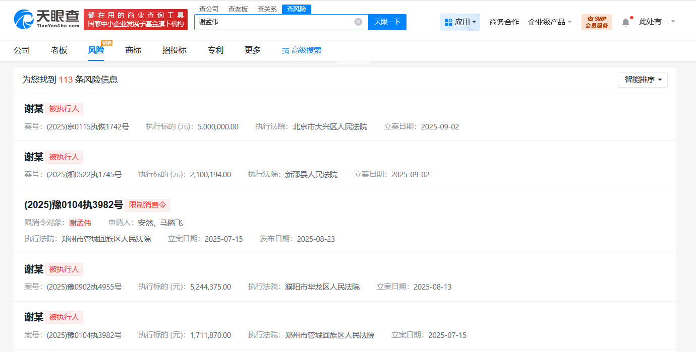
雷达财经讯,天眼查App显示,近期,谢孟伟(嘎子哥)新增2条被执行人信息,执行标的合计710万余元,被执行人还包括郭珊珊(谢孟伟妻子)等,执行法院为北京市大兴区人民法院、湖南省邵阳市新邵县人民法院。值得注意的是,今年8月,谢孟伟已被执行524万余元,此外,今年7月,谢孟伟曾因民间借贷纠纷案件被执行171万余元,并被限制高消费。
据媒体报道,此前因穿警服直播带货被行政拘留、账号遭封禁的“嘎子”谢孟伟,其抖音平台账号已可正常点关注,不过其快手账号仍处于封禁状态。
雷达财经讯,天眼查App显示,近期,谢孟伟(嘎子哥)新增2条被执行人信息,执行标的合计710万余元,被执行人还包括郭珊珊(谢孟伟妻子)等,执行法院为北京市大兴区人民法院、湖南省邵阳市新邵县人民法院。值得注意的是,今年8月,谢孟伟已被执行524万余元,此外,今年7月,谢孟伟曾因民间借贷纠纷案件被执行171万余元,并被限制高消费。
据媒体报道,此前因穿警服直播带货被行政拘留、账号遭封禁的“嘎子”谢孟伟,其抖音平台账号已可正常点关注,不过其快手账号仍处于封禁状态。
沟通、交流、进读者群、寻求授权,请加雷达学妹(微信:leidaxuemei),线索、爆料,请发送至邮箱:leidacj@163.com。更多精彩:欢迎扫码关注雷达财经微信:
作者:艳蕊财经 阅读:12383
作者:艳蕊财经 阅读:11942
作者:艳蕊财经 阅读:10834
国际实业上半年营收增6倍利润却大降九成,经营现金流连续多年为负
作者:艳蕊财经 阅读:10937
作者:艳蕊财经 阅读:11775
古井贡酒遭海通证券下调评级,当前公司市盈率远高于证券公司预测
作者:艳蕊财经 阅读:9766
奥美医疗子公司员工中毒,公司曾因逃避监管的方式排放水污染物遭行政处罚
作者:艳蕊财经 阅读:9930
作者:mengshuai 阅读:7724
作者:凯旌财经 阅读:7378