
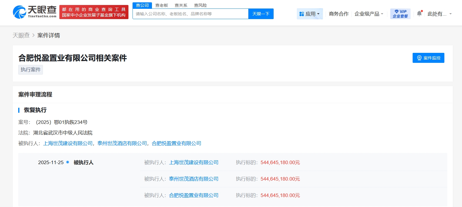
雷达财经讯,天眼查App显示,近日,上海世茂建设有限公司、泰州世茂酒店有限公司、合肥悦盈置业有限公司新增一则恢复执行信息,执行标的5.4亿余元,执行法院为湖北省武汉市中级人民法院。
上海世茂建设有限公司成立于2001年3月,法定代表人为颜华,注册资本31.4亿人民币,经营范围为房地产开发、经营、旧房改造及经营、物业管理、室内装潢、企业管理咨询。 股东信息显示,该公司由世茂投资控股有限公司全资持股。天眼风险信息显示,该公司现存92条被执行人信息,被执行总金额超459亿元,此外,该公司还存在多条限制消费令、失信被执行人(老赖)及终本案件信息。






















