
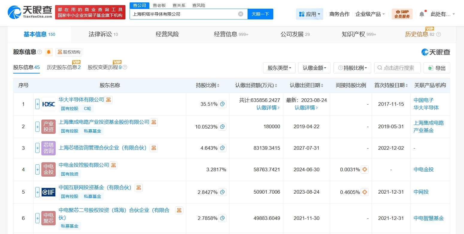
雷达财经讯,天眼查工商信息显示,近日,上海积塔半导体有限公司发生工商变更,新增中电金投控股有限公司、中电中金(厦门)智能产业股权投资基金合伙企业(有限合伙)、重庆中金科元私募股权投资基金合伙企业(有限合伙)等为股东,注册资本由约169亿人民币增至约179亿人民币,增幅约6%,同时,多位主要人员发生变更。
上海积塔半导体有限公司成立于2017年11月,法定代表人为孙劼,经营范围含集成电路芯片及产品制造、集成电路芯片设计及服务、电子元器件批发、电子产品销售、计算机软硬件及辅助设备批发、计算机系统服务、信息系统集成服务等。股东信息显示,该公司现由华大半导体有限公司、上海集成电路产业投资基金股份有限公司、中国互联网投资基金(有限合伙)及上述新增股东等共同持股。











