
雷达财经讯,据报道,12月10日,有网友反映某短视频平台主播“周周珍可爱625”(实名周珍)名下控股企业涉嫌逃税,已被国家税务总局佛山市税务局查处。根据网友提供的线索,被查处企业为“周周珍可爱625”名下的广东嘉星投资集团有限公司全资持股的广东嘉星文化传媒有限公司。
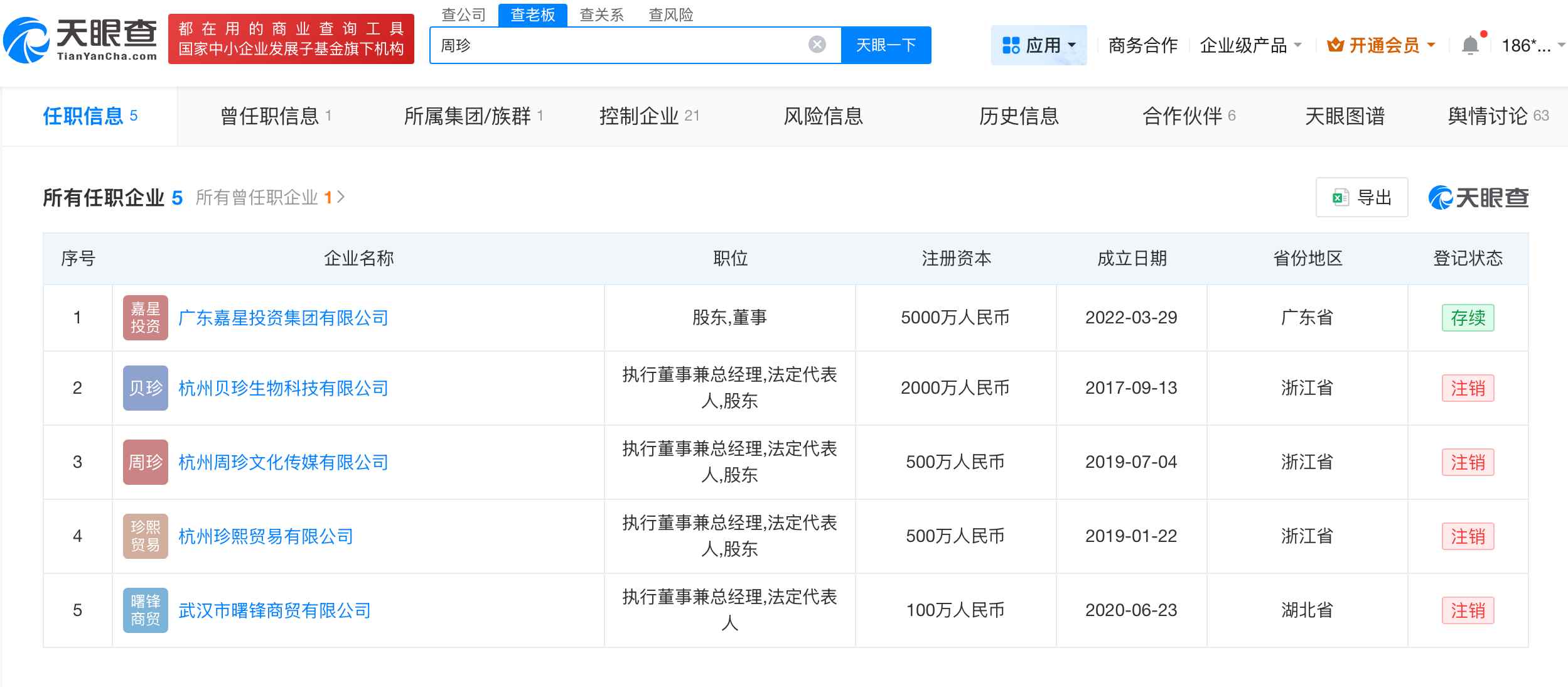
天眼查任职信息显示,周珍名下关联5家企业,其中4家已注销,仅广东嘉星投资集团有限公司为存续状态。控制企业信息显示,周珍控制20余家企业。



雷达财经讯,据报道,12月10日,有网友反映某短视频平台主播“周周珍可爱625”(实名周珍)名下控股企业涉嫌逃税,已被国家税务总局佛山市税务局查处。根据网友提供的线索,被查处企业为“周周珍可爱625”名下的广东嘉星投资集团有限公司全资持股的广东嘉星文化传媒有限公司。
天眼查任职信息显示,周珍名下关联5家企业,其中4家已注销,仅广东嘉星投资集团有限公司为存续状态。控制企业信息显示,周珍控制20余家企业。



沟通、交流、进读者群、寻求授权,请加雷达学妹(微信:leidaxuemei),线索、爆料,请发送至邮箱:leidacj@163.com。更多精彩:欢迎扫码关注雷达财经微信:

作者:艳蕊财经 阅读:13783
作者:艳蕊财经 阅读:14144
作者:艳蕊财经 阅读:12178
国际实业上半年营收增6倍利润却大降九成,经营现金流连续多年为负
作者:艳蕊财经 阅读:12292
作者:艳蕊财经 阅读:13027
古井贡酒遭海通证券下调评级,当前公司市盈率远高于证券公司预测
作者:艳蕊财经 阅读:10952
奥美医疗子公司员工中毒,公司曾因逃避监管的方式排放水污染物遭行政处罚
作者:艳蕊财经 阅读:11113
作者:mengshuai 阅读:8884
作者:凯旌财经 阅读:8764