
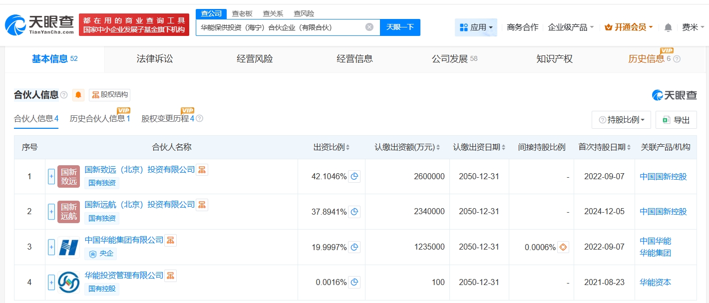
雷达财经讯,天眼查工商信息显示,近日,华能保供投资(海宁)合伙企业(有限合伙)发生工商变更,出资额由580.01亿人民币增至617.51亿人民币。
华能保供投资(海宁)合伙企业(有限合伙)成立于2021年8月,执行事务合伙人为华能投资管理有限公司,经营范围为股权投资、创业投资、自有资金投资的资产管理服务,由中国国新旗下国新致远(北京)投资有限公司、国新远航(北京)投资有限公司、中国华能集团有限公司、华能投资管理有限公司共同出资。




雷达财经讯,天眼查工商信息显示,近日,华能保供投资(海宁)合伙企业(有限合伙)发生工商变更,出资额由580.01亿人民币增至617.51亿人民币。
华能保供投资(海宁)合伙企业(有限合伙)成立于2021年8月,执行事务合伙人为华能投资管理有限公司,经营范围为股权投资、创业投资、自有资金投资的资产管理服务,由中国国新旗下国新致远(北京)投资有限公司、国新远航(北京)投资有限公司、中国华能集团有限公司、华能投资管理有限公司共同出资。




沟通、交流、进读者群、寻求授权,请加雷达学妹(微信:leidaxuemei),线索、爆料,请发送至邮箱:leidacj@163.com。更多精彩:欢迎扫码关注雷达财经微信:

作者:艳蕊财经 阅读:15847
作者:艳蕊财经 阅读:16804
作者:艳蕊财经 阅读:15094
国际实业上半年营收增6倍利润却大降九成,经营现金流连续多年为负
作者:艳蕊财经 阅读:14299
作者:艳蕊财经 阅读:15019
古井贡酒遭海通证券下调评级,当前公司市盈率远高于证券公司预测
作者:艳蕊财经 阅读:13599
奥美医疗子公司员工中毒,公司曾因逃避监管的方式排放水污染物遭行政处罚
作者:艳蕊财经 阅读:13095
作者:mengshuai 阅读:11523
作者:凯旌财经 阅读:10968