雷达财经讯,据媒体报道,2025京东11.11期间,京东将联合广汽、宁德时代推出一款“国民好车”。据介绍,该款新车将在10月底陆续开启内测版、大众版试驾活动,并于11月9日正式官宣发布。
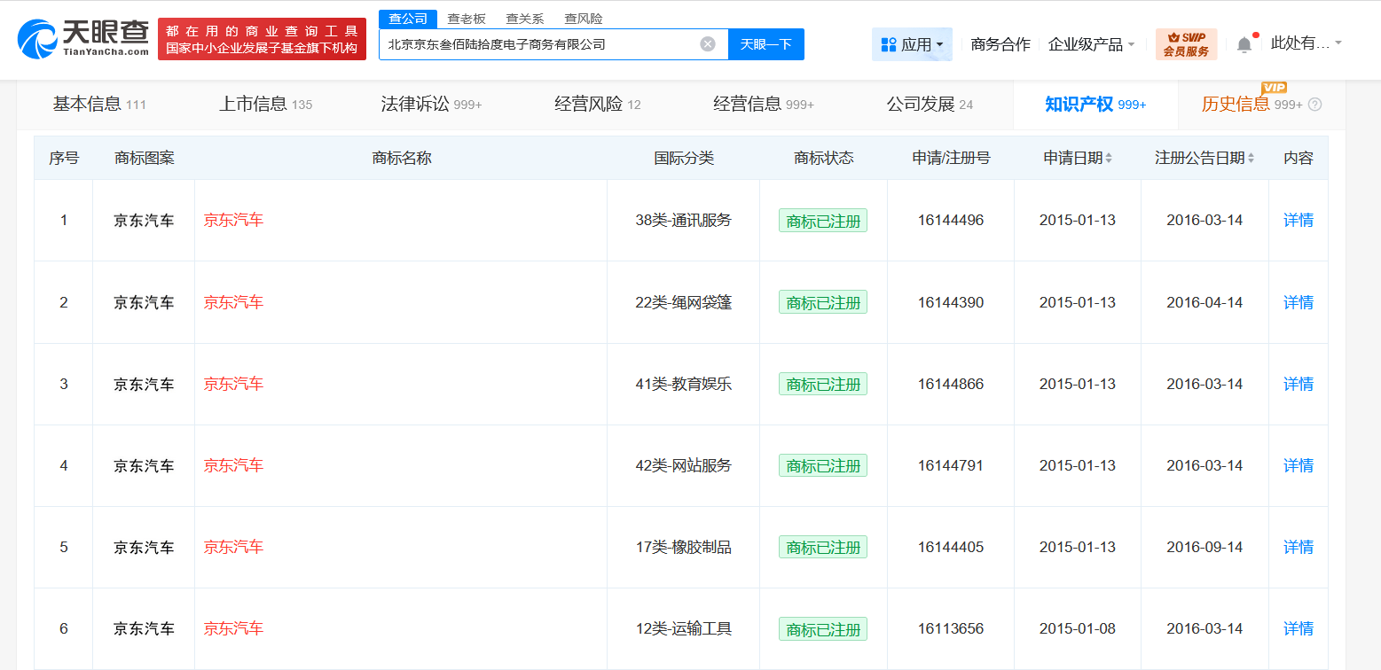
天眼查App显示,北京京东叁佰陆拾度电子商务有限公司已申请注册多枚“京东汽车”“京东汽车 JD AUTO”“京东汽车 CAR.JD.COM”商标,国际分类为运输工具、科学仪器、广告销售等,当前部分商标已注册成功。
雷达财经讯,据媒体报道,2025京东11.11期间,京东将联合广汽、宁德时代推出一款“国民好车”。据介绍,该款新车将在10月底陆续开启内测版、大众版试驾活动,并于11月9日正式官宣发布。
天眼查App显示,北京京东叁佰陆拾度电子商务有限公司已申请注册多枚“京东汽车”“京东汽车 JD AUTO”“京东汽车 CAR.JD.COM”商标,国际分类为运输工具、科学仪器、广告销售等,当前部分商标已注册成功。
沟通、交流、进读者群、寻求授权,请加雷达学妹(微信:leidaxuemei),线索、爆料,请发送至邮箱:leidacj@163.com。更多精彩:欢迎扫码关注雷达财经微信:
作者:雷达快讯 阅读:3
作者:雷达快讯 阅读:8
作者:雷达快讯 阅读:11
作者:雷达快讯 阅读:18
作者:雷达快讯 阅读:17
作者:雷达快讯 阅读:35
作者:雷达快讯 阅读:33
作者:雷达快讯 阅读:116
作者:雷达快讯 阅读:119