
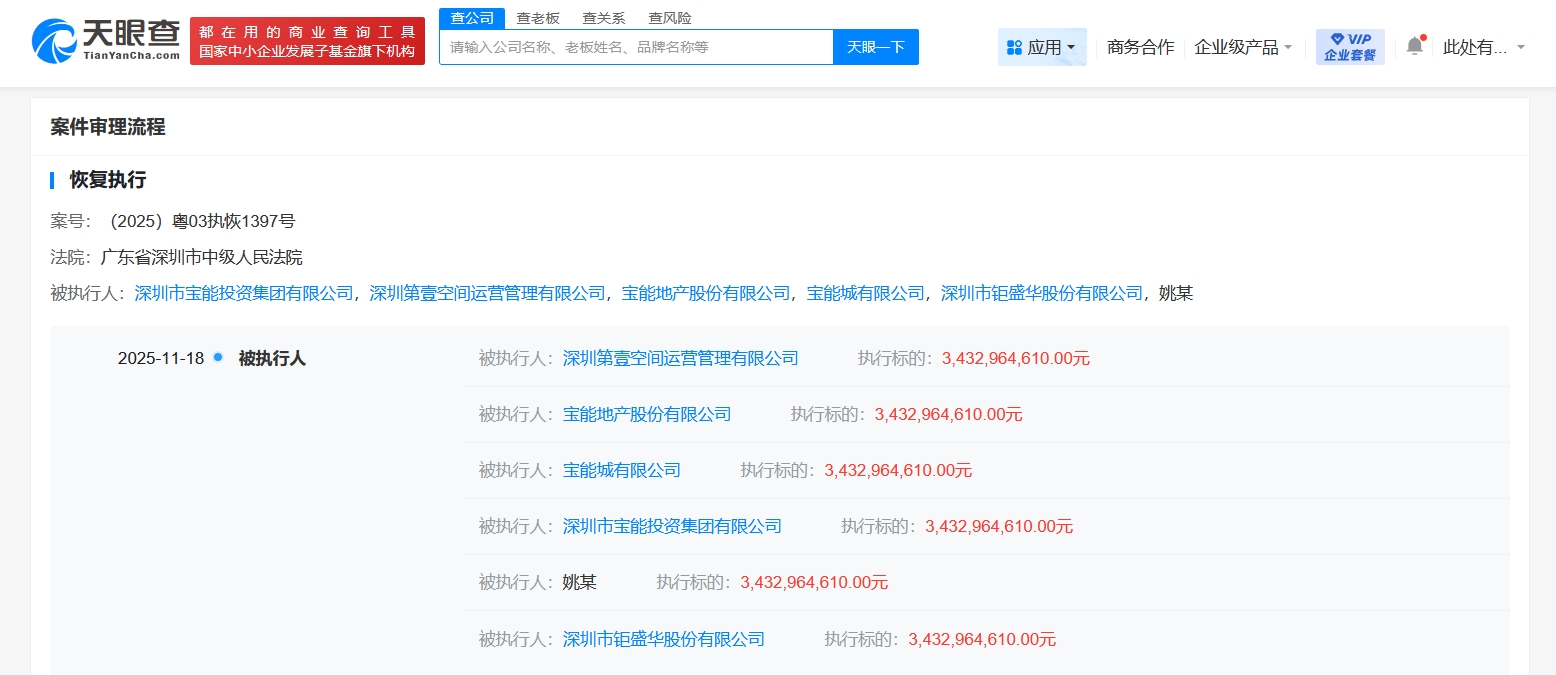
雷达财经讯,天眼查App显示,近日,深圳市宝能投资集团有限公司新增3则恢复执行信息,执行标的合计45亿余元,被执行人还包括姚振华、宝能地产股份有限公司等,执行法院为广东省深圳市中级人民法院。
天眼风险信息显示,深圳市宝能投资集团有限公司现存50条被执行人信息,被执行总金额超540亿元,此外,该公司还存在多条限制消费令、失信被执行人(老赖)及终本案件信息。



雷达财经讯,天眼查App显示,近日,深圳市宝能投资集团有限公司新增3则恢复执行信息,执行标的合计45亿余元,被执行人还包括姚振华、宝能地产股份有限公司等,执行法院为广东省深圳市中级人民法院。
天眼风险信息显示,深圳市宝能投资集团有限公司现存50条被执行人信息,被执行总金额超540亿元,此外,该公司还存在多条限制消费令、失信被执行人(老赖)及终本案件信息。



沟通、交流、进读者群、寻求授权,请加雷达学妹(微信:leidaxuemei),线索、爆料,请发送至邮箱:leidacj@163.com。更多精彩:欢迎扫码关注雷达财经微信:

作者:雷达快讯 阅读:29
作者:雷达快讯 阅读:30
作者:雷达快讯 阅读:26
作者:雷达快讯 阅读:26
作者:雷达快讯 阅读:27
作者:雷达快讯 阅读:25
作者:雷达快讯 阅读:33
作者:雷达快讯 阅读:29
作者:雷达快讯 阅读:38