
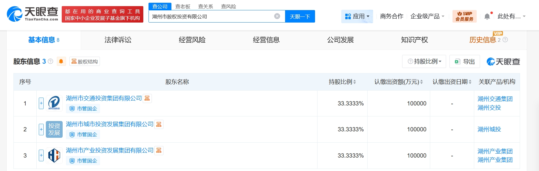
雷达财经讯,天眼查App显示,近日,湖州市股权投资有限公司成立,法定代表人为程习文,注册资本30亿人民币,经营范围为股权投资、以自有资金从事投资活动、自有资金投资的资产管理服务、企业管理咨询、企业总部管理、信息技术咨询服务、知识产权服务,由湖州市交通投资集团有限公司、湖州市城市投资发展集团有限公司、湖州市产业投资发展集团有限公司共同持股。



雷达财经讯,天眼查App显示,近日,湖州市股权投资有限公司成立,法定代表人为程习文,注册资本30亿人民币,经营范围为股权投资、以自有资金从事投资活动、自有资金投资的资产管理服务、企业管理咨询、企业总部管理、信息技术咨询服务、知识产权服务,由湖州市交通投资集团有限公司、湖州市城市投资发展集团有限公司、湖州市产业投资发展集团有限公司共同持股。



沟通、交流、进读者群、寻求授权,请加雷达学妹(微信:leidaxuemei),线索、爆料,请发送至邮箱:leidacj@163.com。更多精彩:欢迎扫码关注雷达财经微信:

作者:雷达快讯 阅读:32
作者:雷达快讯 阅读:30
作者:雷达快讯 阅读:69
作者:雷达快讯 阅读:69
中曼石油:股东朱逢学、共荣投资、共远投资拟减持不超过1386.9万股
作者:雷达快讯 阅读:65
摩恩电气向关联方授权商标使用权,收取年度营业收入6%的许可费
作者:雷达快讯 阅读:67
作者:雷达快讯 阅读:67
作者:雷达快讯 阅读:73
作者:雷达快讯 阅读:83