
雷达财经讯,天眼查经营风险信息显示,近日,上海丝芭文化传媒集团有限公司因违反《出版管理条例》,被上海市虹口区文化和旅游局罚款1万元。处罚事由显示,该公司存在未经批准,擅自从事出版物的出版业务的行为,违法经营额及违法所得无法计算,且该行为没有专用的工具、设备。
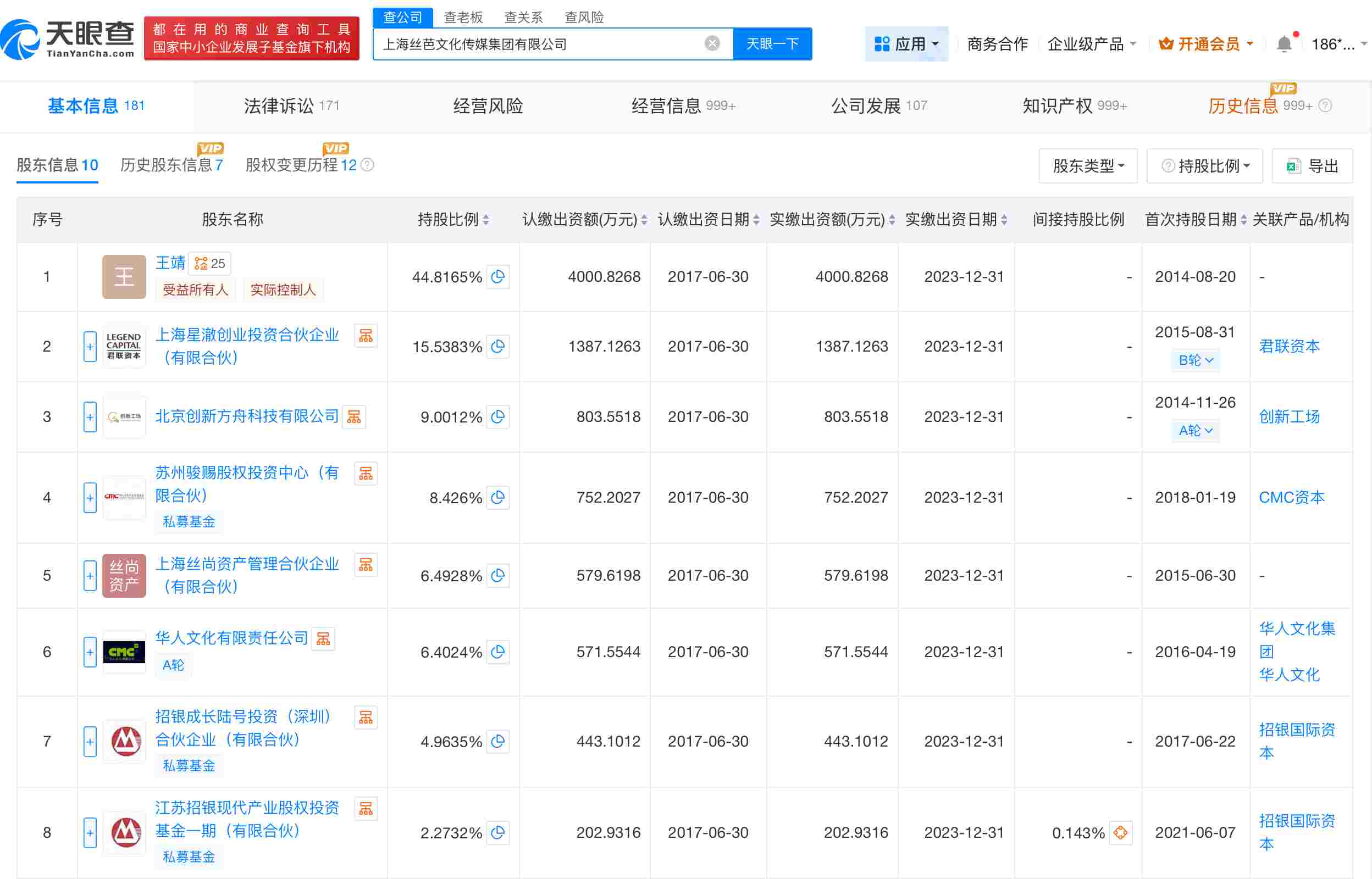
上海丝芭文化传媒集团有限公司成立于2010年5月,法定代表人为王靖,注册资本约8927万人民币,经营范围包括营业性演出、演出经纪、出版物零售等,由王靖、上海星澈创业投资合伙企业(有限合伙)等共同持股。




雷达财经讯,天眼查经营风险信息显示,近日,上海丝芭文化传媒集团有限公司因违反《出版管理条例》,被上海市虹口区文化和旅游局罚款1万元。处罚事由显示,该公司存在未经批准,擅自从事出版物的出版业务的行为,违法经营额及违法所得无法计算,且该行为没有专用的工具、设备。
上海丝芭文化传媒集团有限公司成立于2010年5月,法定代表人为王靖,注册资本约8927万人民币,经营范围包括营业性演出、演出经纪、出版物零售等,由王靖、上海星澈创业投资合伙企业(有限合伙)等共同持股。




沟通、交流、进读者群、寻求授权,请加雷达学妹(微信:leidaxuemei),线索、爆料,请发送至邮箱:leidacj@163.com。更多精彩:欢迎扫码关注雷达财经微信:

作者:雷达快讯 阅读:195
“新国补”助力车市开年升温,现存新能源汽车相关企业近172万家
作者:雷达快讯 阅读:204
电动自行车充电桩国标公开征求意见,现存电动自行车相关企业超104万家
作者:雷达快讯 阅读:188
作者:雷达快讯 阅读:184
作者:雷达快讯 阅读:193
作者:雷达快讯 阅读:147
作者:雷达快讯 阅读:181
作者:雷达快讯 阅读:169
作者:雷达快讯 阅读:205