
雷达财经讯,近日,华晨宇在2025年火星演唱会海口站宣布正式告别独创的"火星乐园1.0"演唱会模式,并公开表示"欢迎同行来抄1.0版本”,引发网友讨论。公开信息显示,火星演唱会主办单位包括天娱传媒、亚美娱乐、华晨宇工作室。
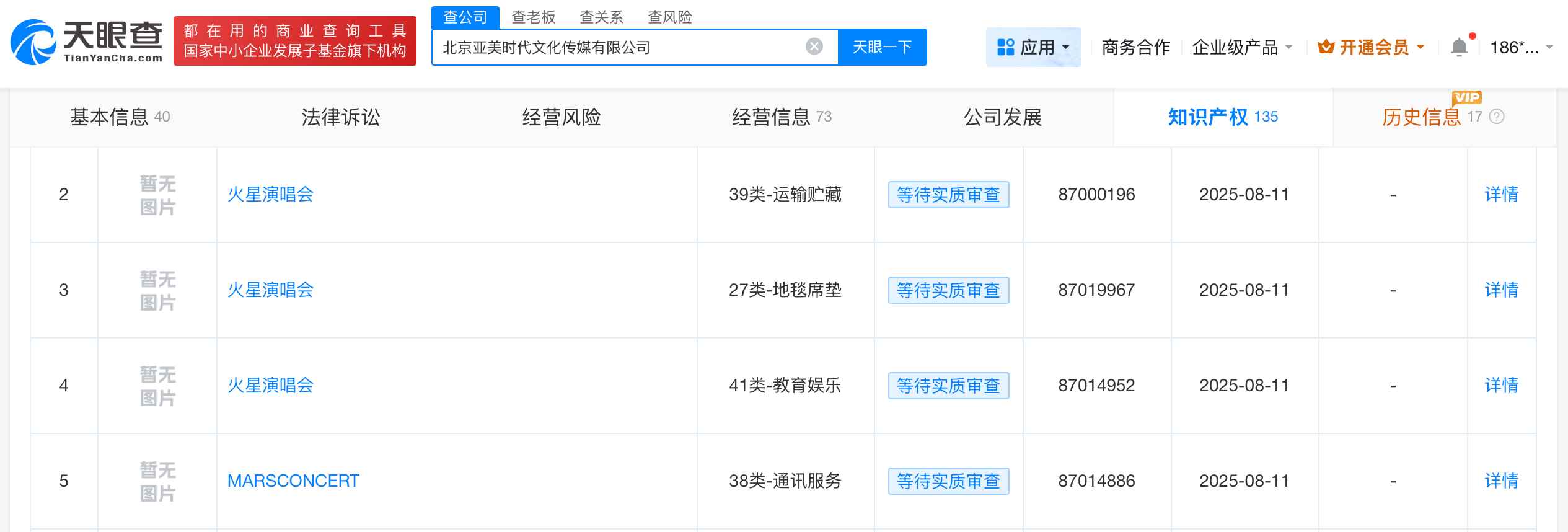
天眼查知识产权信息显示,北京亚美时代文化传媒有限公司曾于2025年8月申请注册“火星演唱会”“MARSCONCERT”等商标,国际分类涉及运输贮藏、地毯席垫等,上述商标状态多为等待实质审查。


雷达财经讯,近日,华晨宇在2025年火星演唱会海口站宣布正式告别独创的"火星乐园1.0"演唱会模式,并公开表示"欢迎同行来抄1.0版本”,引发网友讨论。公开信息显示,火星演唱会主办单位包括天娱传媒、亚美娱乐、华晨宇工作室。
天眼查知识产权信息显示,北京亚美时代文化传媒有限公司曾于2025年8月申请注册“火星演唱会”“MARSCONCERT”等商标,国际分类涉及运输贮藏、地毯席垫等,上述商标状态多为等待实质审查。


沟通、交流、进读者群、寻求授权,请加雷达学妹(微信:leidaxuemei),线索、爆料,请发送至邮箱:leidacj@163.com。更多精彩:欢迎扫码关注雷达财经微信:

作者:艳蕊财经 阅读:13448
作者:艳蕊财经 阅读:13646
作者:艳蕊财经 阅读:11863
国际实业上半年营收增6倍利润却大降九成,经营现金流连续多年为负
作者:艳蕊财经 阅读:12015
作者:艳蕊财经 阅读:12779
古井贡酒遭海通证券下调评级,当前公司市盈率远高于证券公司预测
作者:艳蕊财经 阅读:10667
奥美医疗子公司员工中毒,公司曾因逃避监管的方式排放水污染物遭行政处罚
作者:艳蕊财经 阅读:10819
作者:mengshuai 阅读:8634
作者:凯旌财经 阅读:8456