雷达财经讯,天眼查工商信息显示,近日,上海外高桥发电有限责任公司发生工商变更,注册资本由约18.04亿人民币增至约33.94亿人民币,增幅约88%。
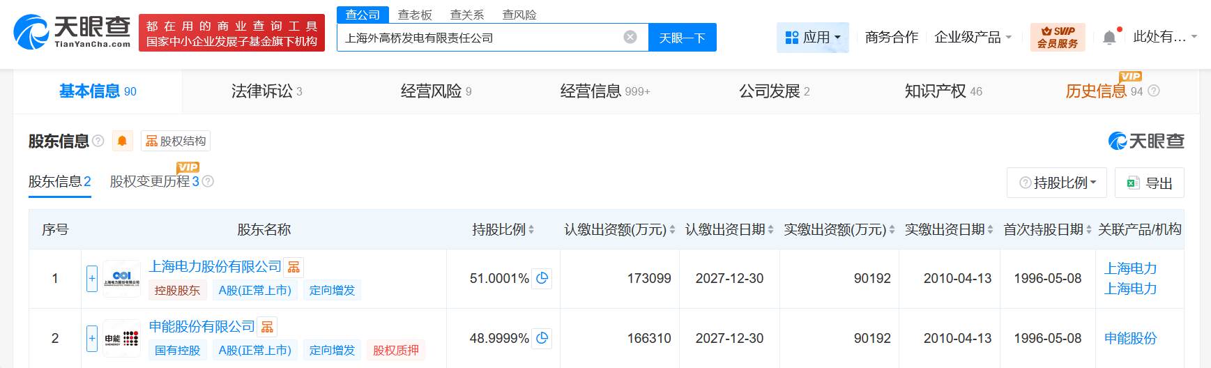
该公司成立于1996年5月,法定代表人为王国弟,经营范围含发电业务、输电业务、供(配)电业务,基础电信业务,租赁服务,石灰和石膏制造;石灰和石膏销售,住房租赁,非居住房地产租赁等。股东信息显示,该公司由上海电力(600021)、申能股份(600642)共同持股。
雷达财经讯,天眼查工商信息显示,近日,上海外高桥发电有限责任公司发生工商变更,注册资本由约18.04亿人民币增至约33.94亿人民币,增幅约88%。
该公司成立于1996年5月,法定代表人为王国弟,经营范围含发电业务、输电业务、供(配)电业务,基础电信业务,租赁服务,石灰和石膏制造;石灰和石膏销售,住房租赁,非居住房地产租赁等。股东信息显示,该公司由上海电力(600021)、申能股份(600642)共同持股。
沟通、交流、进读者群、寻求授权,请加雷达学妹(微信:leidaxuemei),线索、爆料,请发送至邮箱:leidacj@163.com。更多精彩:欢迎扫码关注雷达财经微信:
作者:艳蕊财经 阅读:12403
作者:艳蕊财经 阅读:11957
作者:艳蕊财经 阅读:10846
国际实业上半年营收增6倍利润却大降九成,经营现金流连续多年为负
作者:艳蕊财经 阅读:10943
作者:艳蕊财经 阅读:11783
古井贡酒遭海通证券下调评级,当前公司市盈率远高于证券公司预测
作者:艳蕊财经 阅读:9773
奥美医疗子公司员工中毒,公司曾因逃避监管的方式排放水污染物遭行政处罚
作者:艳蕊财经 阅读:9945
作者:mengshuai 阅读:7731
作者:凯旌财经 阅读:7389