
雷达财经讯,天眼查工商信息显示,近日,福建铁路有限公司发生工商变更,注册资本由约328.1亿人民币增至约377.1亿人民币,增幅约15%。
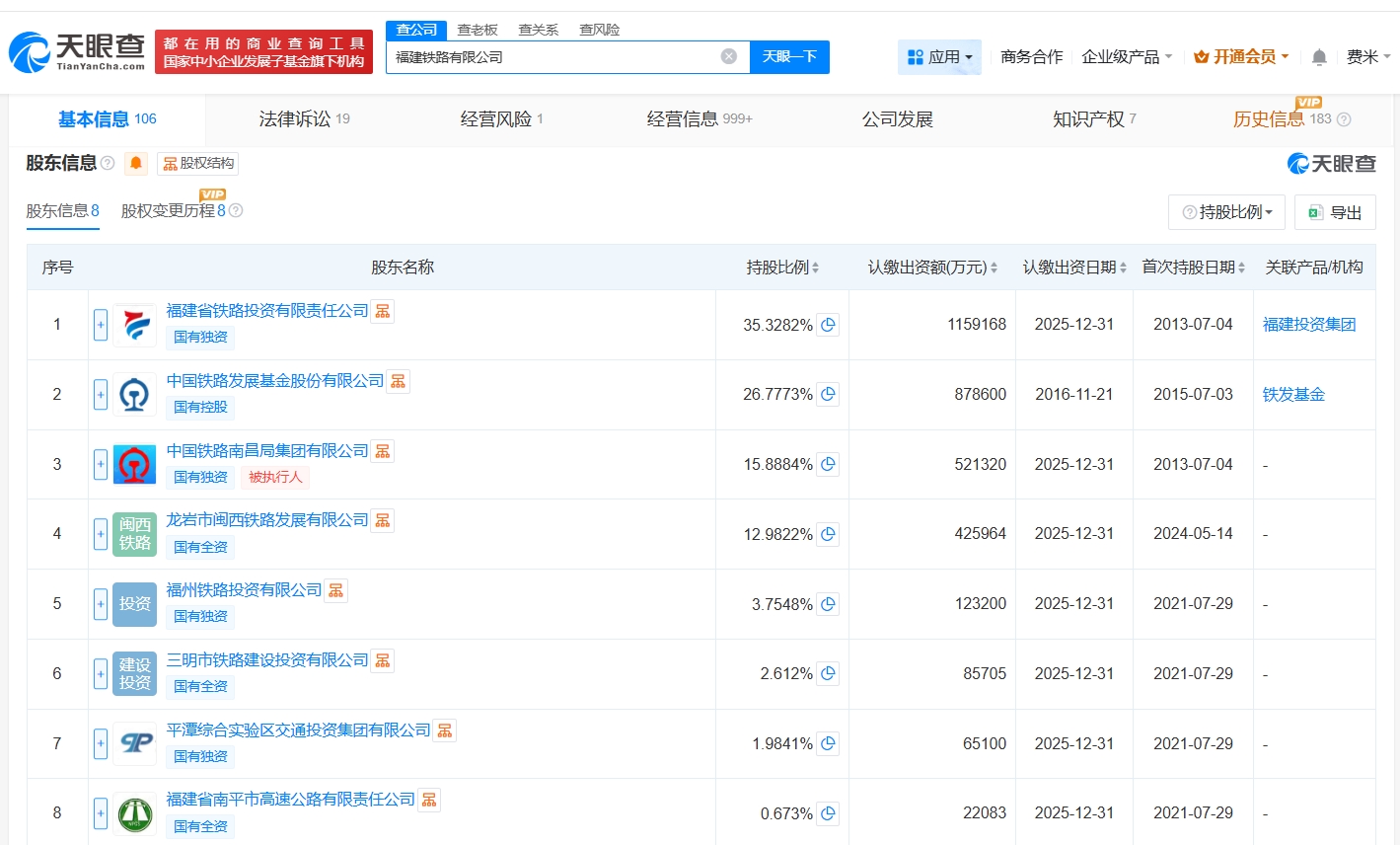
福建铁路有限公司成立于2013年7月,法定代表人为卢贤存,经营范围包括公共铁路运输、铁路运输基础设备制造、各类工程建设活动、房地产开发经营等。股东信息显示,该公司由福建省铁路投资有限责任公司、中国铁路发展基金股份有限公司、中国铁路南昌局集团有限公司等共同持股。




雷达财经讯,天眼查工商信息显示,近日,福建铁路有限公司发生工商变更,注册资本由约328.1亿人民币增至约377.1亿人民币,增幅约15%。
福建铁路有限公司成立于2013年7月,法定代表人为卢贤存,经营范围包括公共铁路运输、铁路运输基础设备制造、各类工程建设活动、房地产开发经营等。股东信息显示,该公司由福建省铁路投资有限责任公司、中国铁路发展基金股份有限公司、中国铁路南昌局集团有限公司等共同持股。



沟通、交流、进读者群、寻求授权,请加雷达学妹(微信:leidaxuemei),线索、爆料,请发送至邮箱:leidacj@163.com。更多精彩:欢迎扫码关注雷达财经微信:


作者:艳蕊财经 阅读:14868
作者:艳蕊财经 阅读:15254
作者:艳蕊财经 阅读:13316
国际实业上半年营收增6倍利润却大降九成,经营现金流连续多年为负
作者:艳蕊财经 阅读:13318
作者:艳蕊财经 阅读:14089
古井贡酒遭海通证券下调评级,当前公司市盈率远高于证券公司预测
作者:艳蕊财经 阅读:12010
奥美医疗子公司员工中毒,公司曾因逃避监管的方式排放水污染物遭行政处罚
作者:艳蕊财经 阅读:12172
作者:mengshuai 阅读:9903
作者:凯旌财经 阅读:9920