投稿
当前位置: 首页 > 雷达原创

宁德时代参投基金等入股达卯科技 后者为AI虚拟电厂应用研发商

2025/10/11 11:30:12 0人评论 144 次

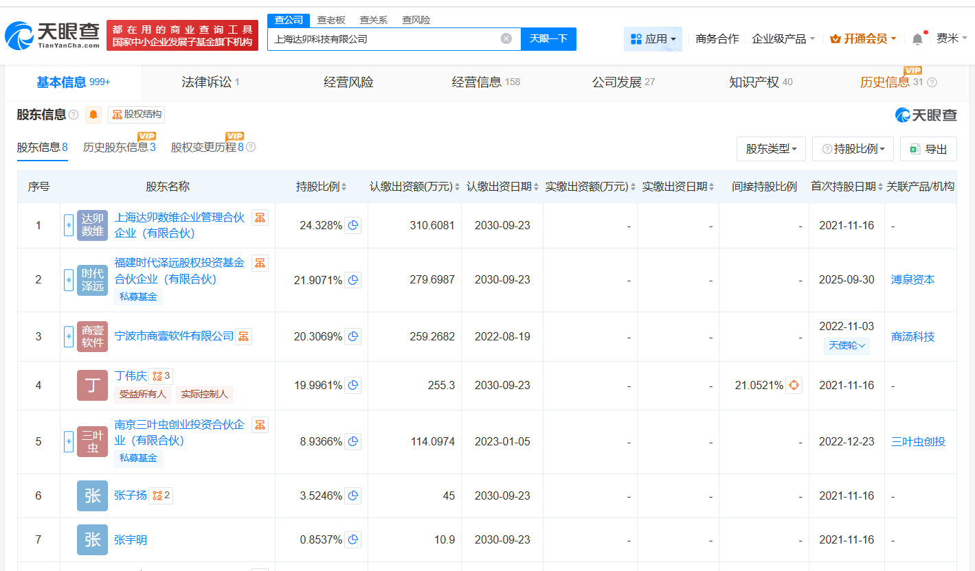
天眼查App显示,近日,上海达卯科技有限公司发生工商变更,新增宁德时代参投的福建时代泽远股权投资基金合伙企业(有限合伙)、深圳市绿水长青创业投资合伙企业(有限合伙)为股东,刘涛卸任法定代表人,由简煜忞接任,注册资本由约1209万人民币增至约…

雷达财经讯,天眼查App显示,近日,上海达卯科技有限公司发生工商变更,新增宁德时代参投的福建时代泽远股权投资基金合伙企业(有限合伙)、深圳市绿水长青创业投资合伙企业(有限合伙)为股东,刘涛卸任法定代表人,由简煜忞接任,注册资本由约1209万人民币增至约1277万人民币,同时多位高管发生变更。

该公司成立于2021年3月,经营范围包括计算机软硬件及辅助设备批发、数据处理服务、物联网技术服务等,现由上海达卯数维企业管理合伙企业(有限合伙)、宁波市商壹软件有限公司及上述新增股东等共同持股。公开资料显示,该公司致力于利用通用人工智能(AGI)技术构建能源大模型(Energy MaaS)平台和AI虚拟电厂应用,提供技术咨询、运维服务及能效管理软件。

财经评论(0)
查看评论
 

沟通、交流、进读者群、寻求授权,请加雷达学妹(微信:leidaxuemei),线索、爆料,请发送至邮箱:leidacj@163.com。更多精彩:欢迎扫码关注雷达财经微信:

已有0人点赞