
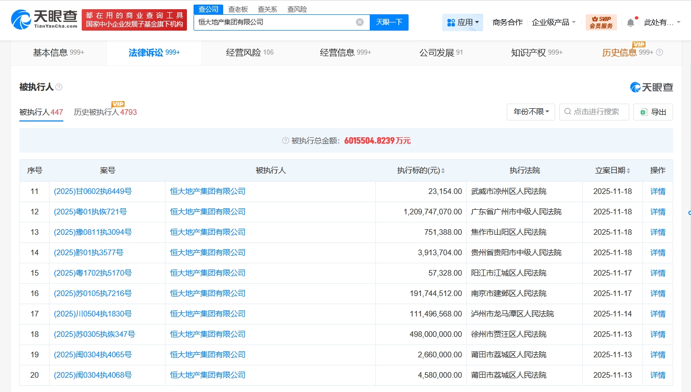
雷达财经讯,天眼查App显示,11月18日至20日,恒大地产集团有限公司新增14条被执行人及恢复执行信息,执行标的合计12.2亿余元,部分案件被执行人还包括浙江大卫房地产开发有限公司、上海丰涛置业有限公司等,执行法院包括广东省广州市中级人民法院、贵州省贵阳市中级人民法院等。
天眼风险信息显示,恒大地产集团有限公司现存440余条被执行人信息,被执行总金额超601亿元,此外,该公司还存在多条限制消费令、失信被执行人(老赖)及终本案件信息。



雷达财经讯,天眼查App显示,11月18日至20日,恒大地产集团有限公司新增14条被执行人及恢复执行信息,执行标的合计12.2亿余元,部分案件被执行人还包括浙江大卫房地产开发有限公司、上海丰涛置业有限公司等,执行法院包括广东省广州市中级人民法院、贵州省贵阳市中级人民法院等。
天眼风险信息显示,恒大地产集团有限公司现存440余条被执行人信息,被执行总金额超601亿元,此外,该公司还存在多条限制消费令、失信被执行人(老赖)及终本案件信息。


沟通、交流、进读者群、寻求授权,请加雷达学妹(微信:leidaxuemei),线索、爆料,请发送至邮箱:leidacj@163.com。更多精彩:欢迎扫码关注雷达财经微信:


作者:艳蕊财经 阅读:13146
作者:艳蕊财经 阅读:12684
作者:艳蕊财经 阅读:11618
国际实业上半年营收增6倍利润却大降九成,经营现金流连续多年为负
作者:艳蕊财经 阅读:11668
作者:艳蕊财经 阅读:12518
古井贡酒遭海通证券下调评级,当前公司市盈率远高于证券公司预测
作者:艳蕊财经 阅读:10442
奥美医疗子公司员工中毒,公司曾因逃避监管的方式排放水污染物遭行政处罚
作者:艳蕊财经 阅读:10584
作者:mengshuai 阅读:8397
作者:凯旌财经 阅读:8159